授权公布号:CN213393819U
一种有开度指示能够稳定调节流量的节流阀
有效
申请
2020-10-16
申请公布
1970-01-01
授权
2021-06-08
预估到期
2030-10-16
| 申请号 | CN202022321663.7 |
| 申请日 | 2020-10-16 |
| 授权公布号 | CN213393819U |
| 授权公告日 | 2021-06-08 |
| 分类号 | F16K37/00;F16K41/02;F16K1/02 |
| 分类 | 工程元件或部件;为产生和保持机器或设备的有效运行的一般措施;一般绝热; |
| 申请人名称 | 超达阀门集团股份有限公司 |
| 申请人地址 | 浙江省温州市永嘉县瓯北镇江北大街 |
专利法律状态
2021-06-08
授权
状态信息
授权
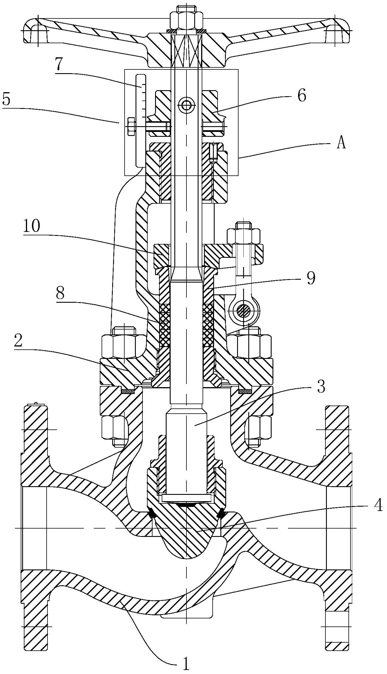
摘要
本实用新型公开了一种有开度指示能够稳定调节流量的节流阀,包括阀体、设置于阀体的阀盖、螺纹安装于阀盖的阀杆以及安装于阀杆且配合阀体形成密封的阀瓣,包括用于锁定阀杆实时开度的锁定构件,所述阀杆上安装有随阀杆运动的指示块,所述阀体或阀盖上设有配合指示块用于观察阀瓣开度的开度指示器。本实用新型具有以下优点和效果:本实用新型能观察阀瓣的开度并保证阀瓣的开启开度不会发生改变,从而适用于苛刻的使用工况。


