授权公布号:CN213495841U
一种光伏支架生产用折弯机
有效
申请
2020-10-19
申请公布
1970-01-01
授权
2021-06-22
预估到期
2030-10-19
| 申请号 | CN202022327112.1 |
| 申请日 | 2020-10-19 |
| 授权公布号 | CN213495841U |
| 授权公告日 | 2021-06-22 |
| 分类号 | B21D11/10;B21D11/22 |
| 分类 | 基本上无切削的金属机械加工;金属冲压; |
| 申请人名称 | 神龙拜耳科技衡水股份有限公司 |
| 申请人地址 | 河北省衡水市新桥新路西侧,衡水中盛工程橡胶有限公司南侧 |
专利法律状态
2023-08-11
专利实施许可合同备案的生效、变更及注销
状态信息
专利实施许可合同备案的生效;IPC(主分类):B21D11/10;合同备案号:X2023980038659;让与人:神龙拜耳科技衡水股份有限公司;受让人:多福之家衡水智能科技有限公司;实用新型名称:一种光伏支架生产用折弯机;申请日:20201019;授权公告日:20210622;许可种类:普通许可;备案日期:20230726
2023-08-08
专利实施许可合同备案的生效、变更及注销
状态信息
专利实施许可合同备案的生效;IPC(主分类):B21D11/10;合同备案号:X2023980038425;让与人:神龙拜耳科技衡水股份有限公司;受让人:河北中总电新能源科技有限公司;实用新型名称:一种光伏支架生产用折弯机;申请日:20201019;授权公告日:20210622;许可种类:普通许可;备案日期:20230721
2021-06-22
授权
状态信息
授权
摘要
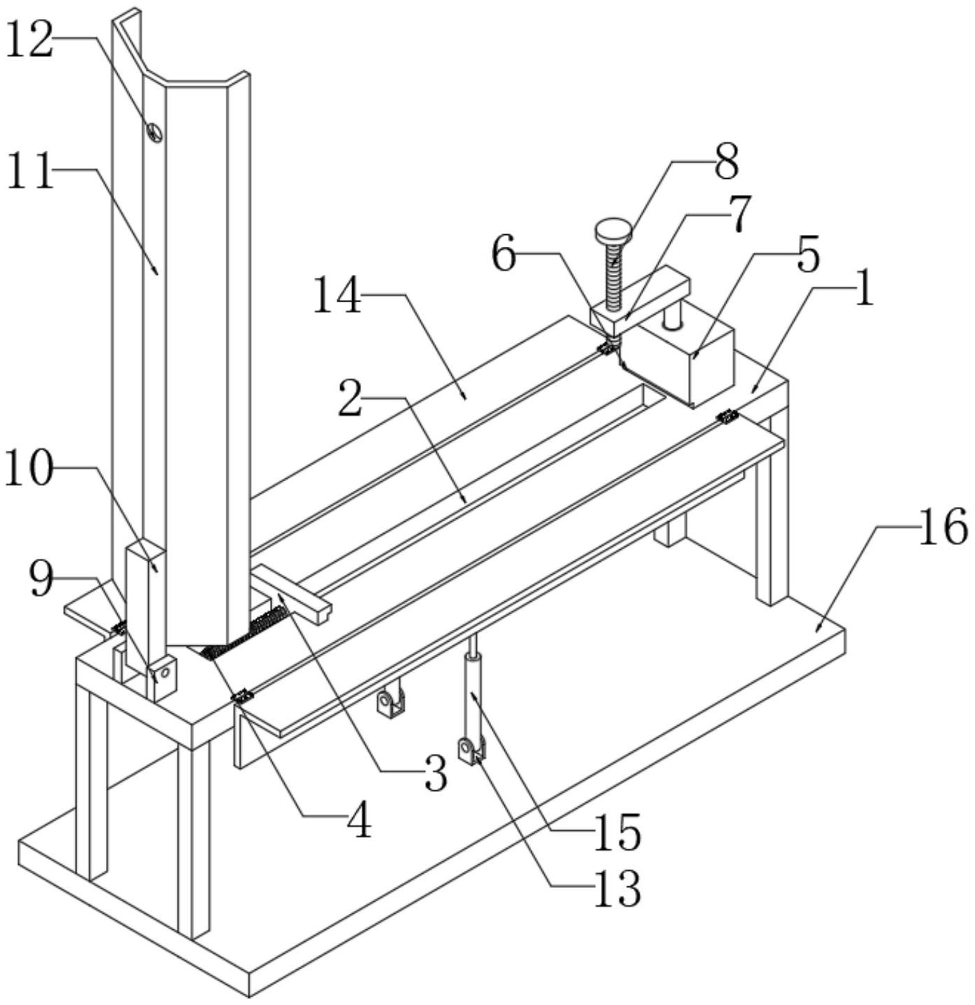
本实用新型公开了一种光伏支架生产用折弯机,包括加工台,加工台顶端的中部开设有滑槽,滑槽的内部滑动连接有工型块,滑槽内部的一边侧固定设有弹簧,弹簧的一端与工型块一侧的中部固定连接,加工台顶端的一侧固定设有转动座,转动座的内部转动连接有转块,转块的一侧固定设有弧形压板,加工台顶端的另一侧固定设有固定块,加工台顶端的两侧均通过两个合页铰接有折弯板,加工台底端的两侧均固定设有支腿,支腿的底端固定设有底板,本实用新型中工型块在弹簧的作用下与固定块配合将待折弯板材夹紧,同时辅助对齐以保证待折弯板材处于水平状态,并且两个折弯板同时工作,一次即可将待折弯的板材加工成C型。


