授权公布号:CN217857914U
一种实验室用补风型通风柜
有效
申请
2022-08-09
申请公布
1970-01-01
授权
2022-11-22
预估到期
2032-08-09
| 申请号 | CN202222085733.2 |
| 申请日 | 2022-08-09 |
| 授权公布号 | CN217857914U |
| 授权公告日 | 2022-11-22 |
| 分类号 | B08B15/02;B01D46/88;B01D46/10 |
| 分类 | 清洁; |
| 申请人名称 | 广东科艺普实验室设备研制有限公司 |
| 申请人地址 | 广东省佛山市三水区芦苞镇工业开发区(F4) |
专利法律状态
2022-11-22
授权
状态信息
授权
摘要
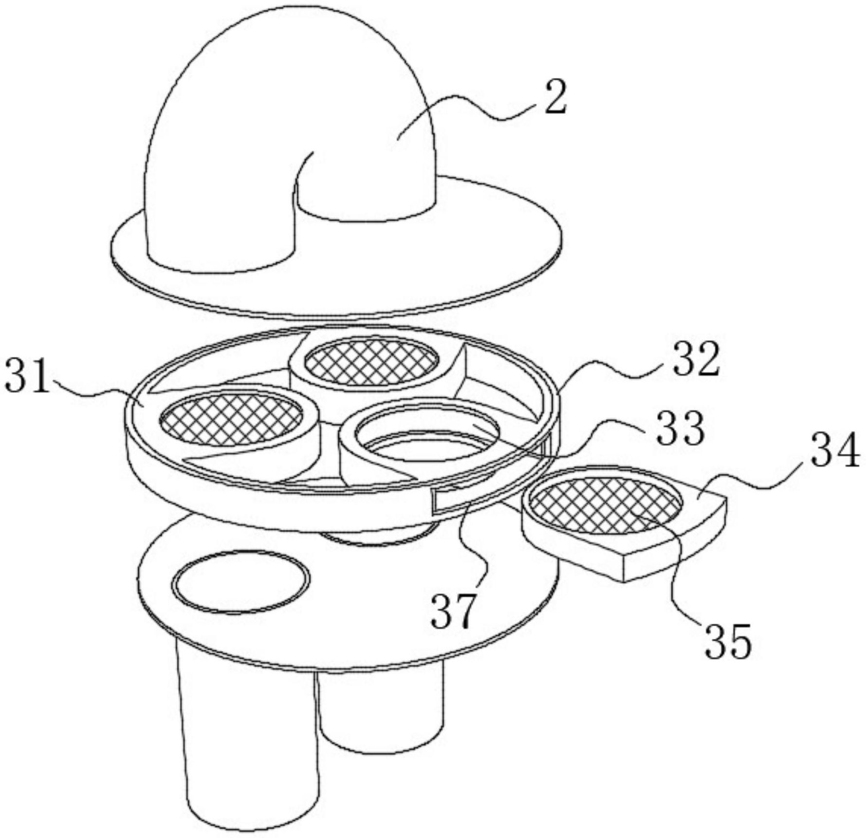
本实用新型公开了一种实验室用补风型通风柜,包括通风柜,所述通风柜上连通有管道,所述管道上安装有第一框体,所述第一框体内部转动有架体,所述架体内滑动卡接有第二框体,所述第二框体上铺设有滤网;所述第一框体上还安装有驱动件,所述驱动件与所述第二框体摩擦碰触。通过设计有架体、第一框体和第二框体,从而第二框体可从架体中取出,从而方便对滤网进行更换处理。


