授权公布号:CN105257830B
具有新型结构的风量调节阀
有效
申请
2015-10-21
申请公布
2016-01-20
授权
2017-08-11
预估到期
2035-10-21
| 申请号 | CN201510694617.2 |
| 申请日 | 2015-10-21 |
| 申请公布号 | CN105257830A |
| 申请公布日 | 2016-01-20 |
| 授权公布号 | CN105257830B |
| 授权公告日 | 2017-08-11 |
| 分类号 | F16K1/00;F16K1/22;F16K1/38;F16K1/44;F16K17/30;F16K27/02;B08B15/02 |
| 分类 | 工程元件或部件;为产生和保持机器或设备的有效运行的一般措施;一般绝热; |
| 申请人名称 | 广东科艺普实验室设备研制有限公司 |
| 申请人地址 | 广东省佛山市三水区芦苞镇工业开发区 |
专利法律状态
2017-08-11
授权
状态信息
授权
2016-02-17
实质审查的生效
状态信息
实质审查的生效;IPC(主分类):F16K1/00;申请日:20151021
2016-01-20
公布
状态信息
公布
摘要
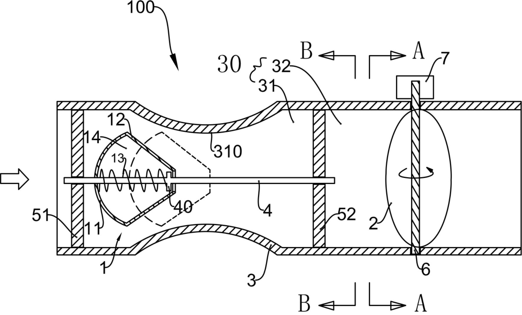
具有新型结构的风量调节阀,包括具有阀腔的阀体以及收容在阀腔内的第一、第二阀芯,阀腔包括前后贯通布置的前、后阀腔,第一阀芯布置在前阀腔中,第二阀芯布置在后阀腔中;第一阀芯大致呈锥形从而具有锥侧面和锥底面,前阀腔具有与第一阀芯的锥侧面大致适配的锥形腔面;锥底面朝向进风端,在前阀腔中固设有定位轴,第一阀芯设置有锥体孔,第一阀芯通过锥体孔套装在定位轴上并且第一阀芯结合着复位弹簧,复位弹簧套装在定位轴上并且其定位端的轴向位置可调;第二阀芯呈碟片状并能够径向转动地布置在后阀腔中,旋转驱动轴穿过后阀腔的腔壁连接到第二阀芯。这样,风量调节阀能够应对不断变化的实验室环境从而能够对通风柜的面风速予以稳定的控制。


