授权公布号:CN210906801U
一种彩涂铝卷辊涂线的储料结构
有效
申请
2019-10-25
申请公布
1970-01-01
授权
2020-07-03
预估到期
2029-10-25
| 申请号 | CN201921802570.7 |
| 申请日 | 2019-10-25 |
| 授权公布号 | CN210906801U |
| 授权公告日 | 2020-07-03 |
| 分类号 | B05C13/02;B65H19/30;B08B1/02 |
| 分类 | 一般喷射或雾化;对表面涂覆液体或其他流体的一般方法〔2〕; |
| 申请人名称 | 临沂金湖彩涂铝业有限公司 |
| 申请人地址 | 山东省临沂市高新区马厂湖镇驻地 |
专利法律状态
2020-07-03
授权
状态信息
授权
摘要
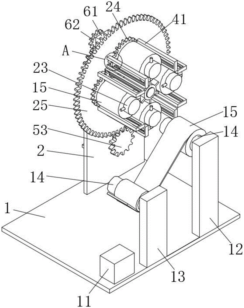
本实用新型公开了一种彩涂铝卷辊涂线的储料结构,包括底板和安装板;底板:所述底板的表面设有第一支板和第二支板,且第一支板和第二支板的侧面均设有传送辊,且第一支板的传送辊上套接有铝卷;安装板:所述安装板设于底板的表面,且安装板的侧面顶部贯穿有转轴,所述转轴上设有齿盘,且转轴上设有主动齿轮,且安装板的一侧顶部和底部分别设有第二传动组件和第一传动组件,且安装板的另一侧均匀转动连接有四个限位轴,且每个限位轴上均套接有铝卷,且每个限位轴的一端均设有从动齿轮,且从动齿轮与主动齿轮相互啮合,本彩涂铝卷辊涂线的储料结构,可以储存多个备用铝卷,并且可以自动上料,有效提高了工作效率。


