授权公布号:CN212041302U
一种彩涂板材生产用冷却装置
有效
申请
2019-11-05
申请公布
1970-01-01
授权
2020-12-01
预估到期
2029-11-05
| 申请号 | CN201921885272.9 |
| 申请日 | 2019-11-05 |
| 授权公布号 | CN212041302U |
| 授权公告日 | 2020-12-01 |
| 分类号 | B05D3/00 |
| 分类 | 一般喷射或雾化;对表面涂覆液体或其他流体的一般方法〔2〕; |
| 申请人名称 | 临沂金湖彩涂铝业有限公司 |
| 申请人地址 | 山东省临沂市高新区马厂湖镇驻地 |
专利法律状态
2020-12-01
授权
状态信息
授权
摘要
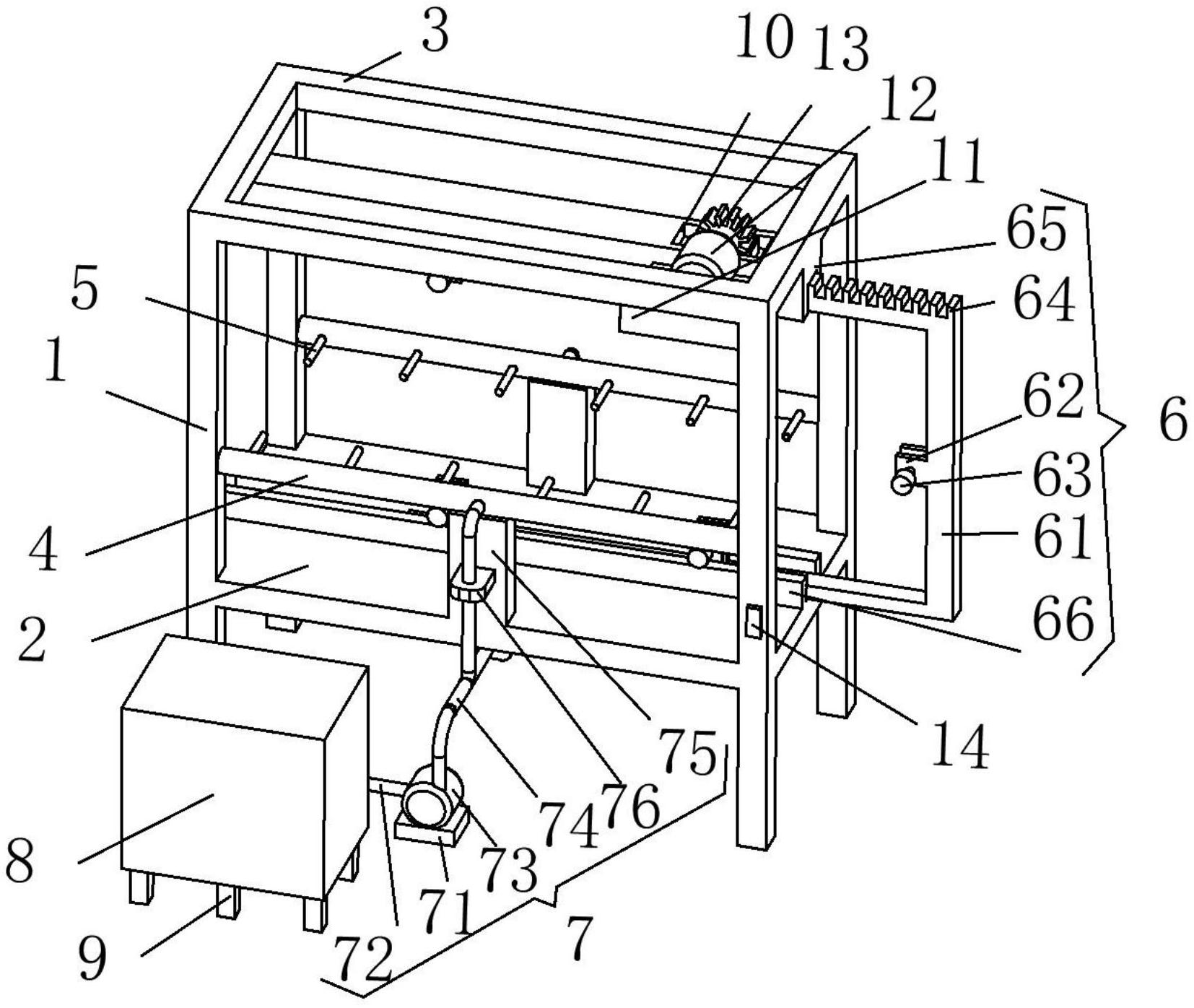
本实用新型公开了一种彩涂板材生产用冷却装置,包括安装框、安装板、安装杆、导管、喷头、滑动单元和喷水单元;所述安装框由四根竖向杆构成,所述安装框的上端固定连接有安装杆,所述安装框下部的内侧表面上固定连接有安装板,所述导管共设置有两根,两根导管的两端分别固定连接在安装框前后两侧杆的中间位置,所述导管对应面的外表面呈阵列固定连接有喷头;所述滑动单元的下滑道呈横向固定连接在安装板上表面的中间位置;所述喷水单元的支撑杆共设置有两根,两根支撑杆分别固定连接在安装板前后两侧中间位置的上表面;该彩涂板材生产用冷却装置,冷却效果好,降温速度快,不易发生变形,冷却过程中噪声小,制造成本较低。


