授权公布号:CN220537099U
一种铝卷纠偏装置
有效
申请
2023-07-11
申请公布
1970-01-01
授权
2024-02-27
预估到期
2033-07-11
| 申请号 | CN202321810719.2 |
| 申请日 | 2023-07-11 |
| 授权公布号 | CN220537099U |
| 授权公告日 | 2024-02-27 |
| 分类号 | B65H23/038;B65H23/02 |
| 分类 | 输送;包装;贮存;搬运薄的或细丝状材料; |
| 申请人名称 | 临沂金湖彩涂铝业有限公司 |
| 申请人地址 | 山东省临沂市高新区马厂湖镇驻地 |
专利法律状态
2024-02-27
授权
状态信息
授权
摘要
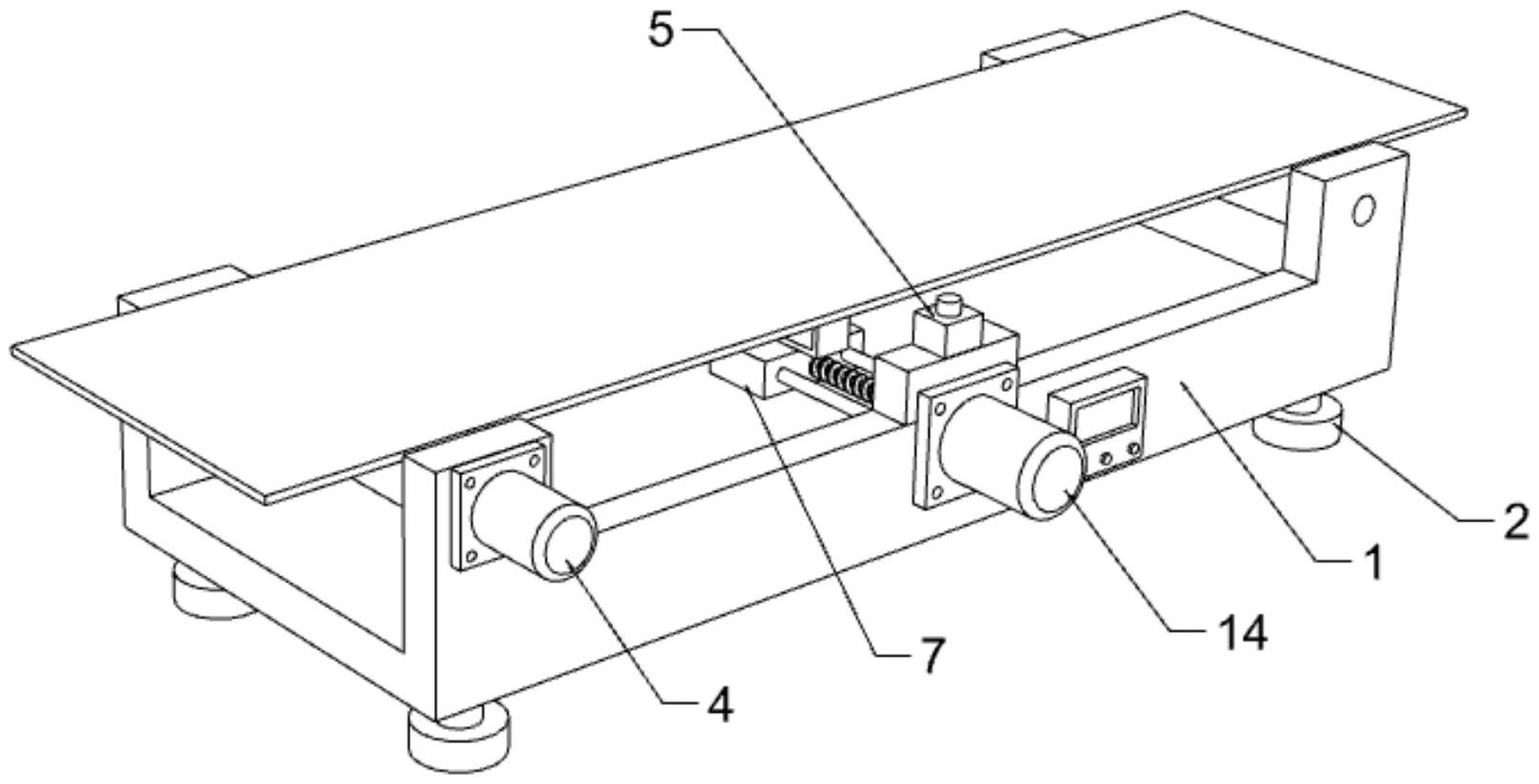
本申请公开了一种铝卷纠偏装置,属于纠偏装置技术领域,包括输送架,所述输送架的相向两侧之间转动安装有两个用于输送铝带的输送辊,所述输送架的一侧表面设置有驱动电机,所述驱动电机的输出轴通过联轴器与其中一个输送辊的轴体呈固定连接,所述输送架两个竖直段的顶端均设置有凹槽,所述输送架的竖直段凹槽底壁均固定设置有呈凸起,所述输送架的其中一个竖直段凸起顶端安装有用于监测铝带偏移的光电纠偏传感器,所述输送架的两个竖直段之间固定安装有两个支撑杆,两个所述支撑杆之间滑动安装有滑块。本实用新型具有了对铝卷的自动纠偏结构,在滑动过程中纠偏,避免纠偏过程暂停对铝卷进行纠偏,提高生产效率,适宜推广。


