授权公布号:CN205189333U
蜂窝墙板装置
有效
申请
2015-10-29
申请公布
1970-01-01
授权
2016-04-27
预估到期
2025-10-29
| 申请号 | CN201520858169.0 |
| 申请日 | 2015-10-29 |
| 授权公布号 | CN205189333U |
| 授权公告日 | 2016-04-27 |
| 分类号 | E04F13/21;E04F13/22 |
| 分类 | 建筑物; |
| 申请人名称 | 广州市奥雅雷诺贝尔铝业有限公司 |
| 申请人地址 | 广东省广州市南沙区励业路勤龙街43号 |
专利法律状态
2016-04-27
授权
状态信息
授权
摘要
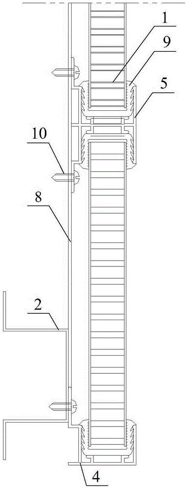
本实用新型公开了一种蜂窝墙板装置,包括蜂窝墙板、主龙骨、龙骨双向型材及用于将龙骨双向型材与蜂窝墙板侧边连接的龙骨U型密封胶条,龙骨双向型材包括与主龙骨固定连接的龙骨固定部及对称设有用于容纳龙骨U型密封胶条的龙骨卡接部,蜂窝墙板插设在龙骨U型密封胶条内。在本实用新型提供的蜂窝墙板装置中,通过设置与蜂窝墙板可插合的龙骨双向型材,通过龙骨U型密封胶条密封,便于工作人员拆装蜂窝墙板,因此,本申请提供的蜂窝起墙板装置便于工作人员拆装蜂窝墙板。


