授权公布号:CN212150669U
一种冲孔磨具辅助工装设备
有效
申请
2020-04-08
申请公布
1970-01-01
授权
2020-12-15
预估到期
2030-04-08
| 申请号 | CN202020503258.4 |
| 申请日 | 2020-04-08 |
| 授权公布号 | CN212150669U |
| 授权公告日 | 2020-12-15 |
| 分类号 | B65G47/74 |
| 分类 | 输送;包装;贮存;搬运薄的或细丝状材料; |
| 申请人名称 | 星牌优时吉建筑材料有限公司 |
| 申请人地址 | 河北省廊坊市大厂回族自治县夏垫镇夏安路8号 |
专利法律状态
2020-12-15
授权
状态信息
授权
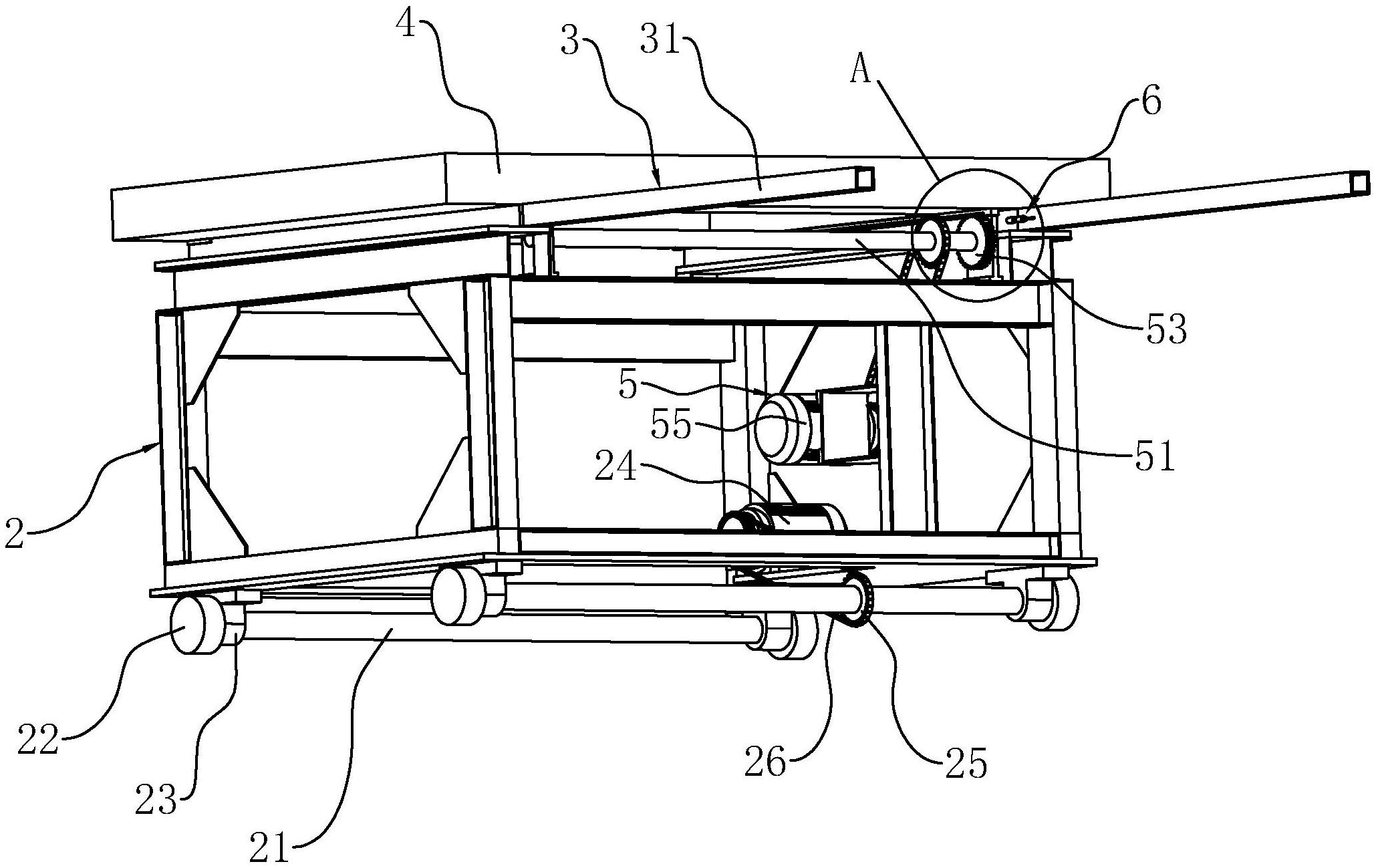
摘要
本实用新型涉及一种冲孔磨具辅助工装设备,其包括运输架,运输架的上表面设置有两条平行的滑轨,滑轨上设置有与其滑移连接的承托框,运输架上设置有驱使承托框沿滑轨的长度方向往复移动的驱动组件,运输架的下表面转动连接有与滑轨垂直布设的两个转杆,每个转杆的两端均同轴固接有滚轮,运输架上设置有控制其中一个转杆转动的第一电机。本实用新型具有的优点是辅助工作人员对冲孔磨具进行工装,减小工作人员对冲孔磨具进行工装的工作强度。


