授权公布号:CN212197422U
一种传送带过渡装置
有效
申请
2020-04-08
申请公布
1970-01-01
授权
2020-12-22
预估到期
2030-04-08
| 申请号 | CN202020502884.1 |
| 申请日 | 2020-04-08 |
| 授权公布号 | CN212197422U |
| 授权公告日 | 2020-12-22 |
| 分类号 | B65G47/66 |
| 分类 | 输送;包装;贮存;搬运薄的或细丝状材料; |
| 申请人名称 | 星牌优时吉建筑材料有限公司 |
| 申请人地址 | 河北省廊坊市大厂回族自治县夏垫镇夏安路8号 |
专利法律状态
2020-12-22
授权
状态信息
授权
摘要
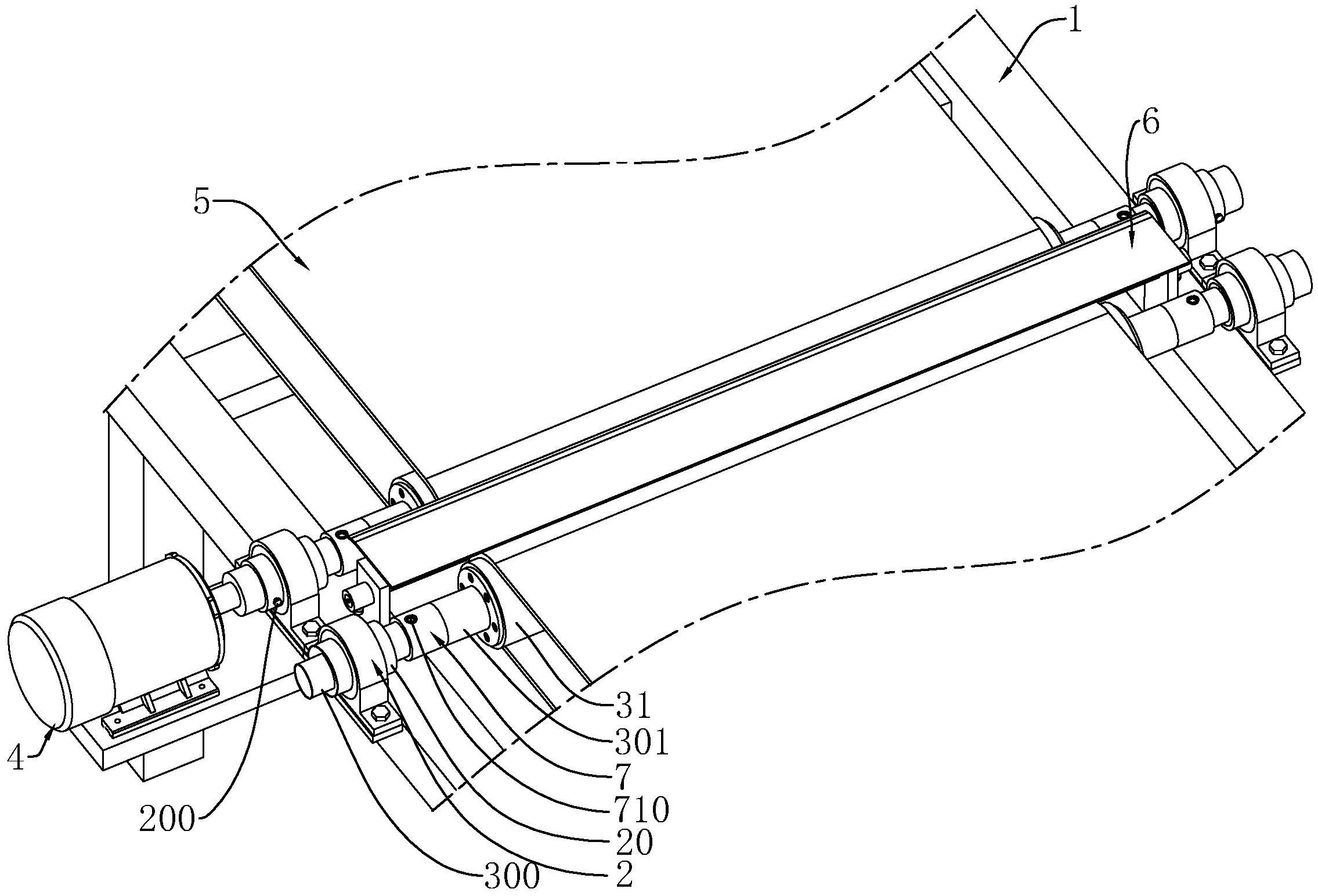
本实用新型涉及一种传送带过渡装置,包括支架、转动支座、传动辊、电机、传送带和引导板;转动支座固定于支架上;传动辊有多个且分别转动支撑于转动支座上;传动辊包括连接轴和胶筒;电机固定于支架上;在转动支座上设置有连接筒,连接筒与转动支座转动配合且轴线与传动辊的轴线重合;连接轴包括轴头和轴端;轴头穿设于连接筒中且与连接筒可拆卸固定;电机与上游传动辊上的轴头同轴固接;轴端的一端与胶筒同轴固接,转接头设置于轴头和轴端之间且与轴头和轴端可拆卸连接。本实用新型具有传送带更换更加方便的优点。


