授权公布号:CN217370815U
一种电火花工具头切割装置
有效
申请
2022-04-01
申请公布
1970-01-01
授权
2022-09-06
预估到期
2032-04-01
| 申请号 | CN202220745488.0 |
| 申请日 | 2022-04-01 |
| 授权公布号 | CN217370815U |
| 授权公告日 | 2022-09-06 |
| 分类号 | B23H7/02;B23H11/00;B21F11/00 |
| 分类 | 机床;不包含在其他类目中的金属加工; |
| 申请人名称 | 大连舒心宏业建材有限公司 |
| 申请人地址 | 辽宁省大连市金州区光明街道金钻路2号1-4层 |
专利法律状态
2022-09-06
授权
状态信息
授权
摘要
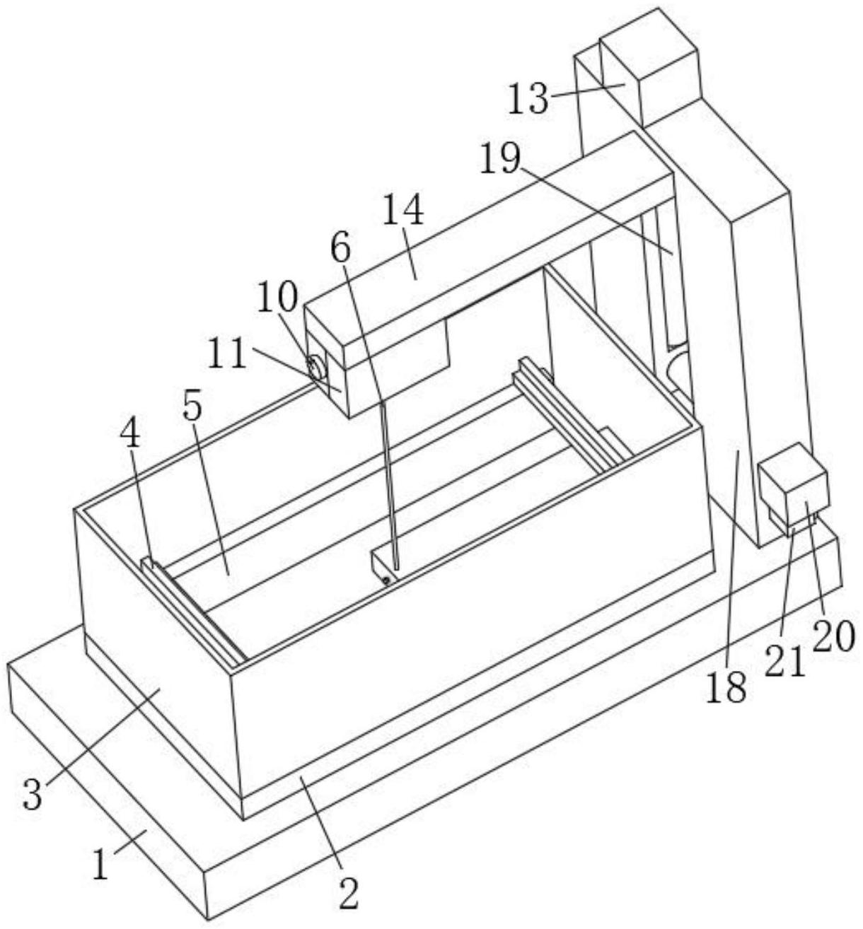
本实用新型公开了一种电火花工具头切割装置,包括底座和位于底座上方的电极线,所述底座的顶部设置有固定切割机构,底座的顶部滑动连接有底板,底板的顶部可拆卸连接有挡板,底板的顶部两边均固定连接有平行于底座顶部的支撑块,支撑块的顶部滑动连接有夹块。本实用新型通过设置的转轴三,将待加工材料固定在夹块上,对电极线通电,移动底板,使得电极线切割原材料,在电极线使用一段时间后,启动电机二和电机三,电机二松开电极线,电机三带动转轴二转动,转轴二带动绳索移动收卷,绳索带动绑定块移动,绑定块带动电极线移动,电极线不断绕着转轴转动,有利于保持电极线垂直固定的同时方便电极线的收卷。


