授权公布号:CN108247785B
一种高密度木板的木质碎料原料浸泡加工装置
有效
申请
2018-01-18
申请公布
2018-07-06
授权
2019-07-19
预估到期
2038-01-18
| 申请号 | CN201810046910.1 |
| 申请日 | 2018-01-18 |
| 申请公布号 | CN108247785A |
| 申请公布日 | 2018-07-06 |
| 授权公布号 | CN108247785B |
| 授权公告日 | 2019-07-19 |
| 分类号 | B27K3/04;B27L11/06 |
| 分类 | 木材或类似材料的加工或保存;一般钉钉机或钉U形钉机; |
| 申请人名称 | 江西红锦发木业有限公司 |
| 申请人地址 | 江西省九江市永修县马口镇屋场村 |
专利法律状态
2019-07-19
授权
状态信息
授权
2019-07-12
专利申请权、专利权的转移
状态信息
专利申请权的转移IPC(主分类):B27K 3/04登记生效日:20190624变更前 申请人:遂昌县睿鼎科技服务有限公司 地址:323300 浙江省丽水市遂昌县妙高街道东城工业园区变更后 申请人:江西红锦发木业有限公司 地址:330302 江西省九江市永修县马口镇屋场村
2018-07-31
实质审查的生效
状态信息
实质审查的生效IPC(主分类):B27K 3/04
2018-07-06
公布
状态信息
公开
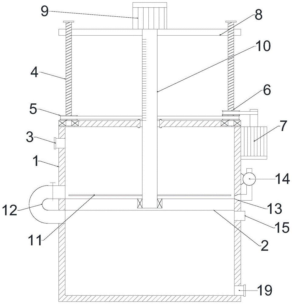
摘要
本发明公开了一种高密度木板的木质碎料原料浸泡加工装置,包括壳体,所述壳体中设有活塞板,壳体左侧设有进料管道,壳体上端设有升降螺纹杆,壳体右侧连接设有升降电机,升降螺纹杆外围设有升降支撑板,升降支撑板上端设有粉碎电机,粉碎电机的下端焊接设有粉碎轴,粉碎轴外围设有粉碎刀片,壳体左壁设有连接管道,壳体右壁设有喷头,壳体右侧设有气泵,壳体右壁位于活塞板下方贯穿连接设有泄压管道和出料管道。本发明能够浸泡并切割粉碎碎木料,完成后排水并挤压粉碎后木料碎末中的残余水,便于收集及后续加工。


