授权公布号:CN216887299U
一种连续上料精准罐装系统
有效
申请
2021-12-30
申请公布
1970-01-01
授权
2022-07-05
预估到期
2031-12-30
| 申请号 | CN202123376798.4 |
| 申请日 | 2021-12-30 |
| 授权公布号 | CN216887299U |
| 授权公告日 | 2022-07-05 |
| 分类号 | B65B1/32;B65B1/30;B65B1/16 |
| 分类 | 输送;包装;贮存;搬运薄的或细丝状材料; |
| 申请人名称 | 河南捷农生化有限公司 |
| 申请人地址 | 河南省商丘市柘城县慈圣镇前梁开发区 |
专利法律状态
2022-07-05
授权
状态信息
授权
摘要
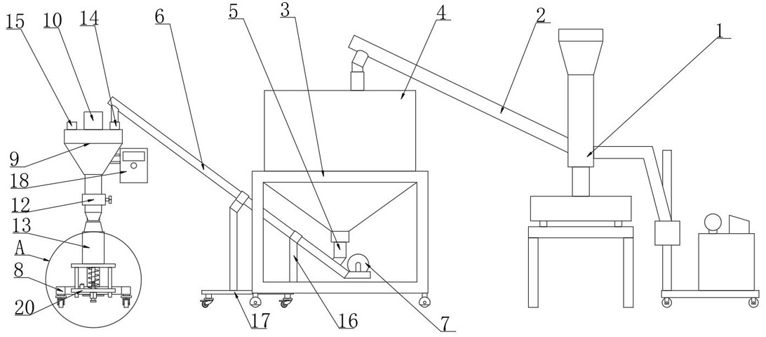
本实用新型公开了一种连续上料精准罐装系统,包括上料机构、储仓机构以及罐装机构,所述上料机构包括真空上料机以及第一输送管,储仓机构包括支撑框架以及固定在支撑框架内壁的储存仓,储存仓的下端固定安装有流通管,流通管的下端固定安装有第二输送管,第二输送管的下端固定安装有上料风机,罐装机构包括冂型支架以及罐装斗。该连续上料精准罐装系统,通过设置压缩弹簧,罐装筒的重量增加后能够缩短压缩弹簧、带动称重板下移,称重板下移至与按钮开关接触,能够控制电磁阀关闭,进而实现自动化进行称量闭阀的工作,能够减轻工人的负担,避免因工人疲惫、注意力下降而导致迟缓关闭阀门、物料装满并溢出罐装筒的现象发生。


