授权公布号:CN219019260U
嵌入式安装结构及安装卡件
有效
申请
2022-12-23
申请公布
1970-01-01
授权
2023-05-12
预估到期
2032-12-23
| 申请号 | CN202223466964.4 |
| 申请日 | 2022-12-23 |
| 授权公布号 | CN219019260U |
| 授权公告日 | 2023-05-12 |
| 分类号 | H05K5/02 |
| 分类 | 其他类目不包含的电技术; |
| 申请人名称 | 青鸟消防股份有限公司 |
| 申请人地址 | 北京市海淀区成府路207号北大青鸟楼C座 |
专利法律状态
2023-05-12
授权
状态信息
授权
摘要
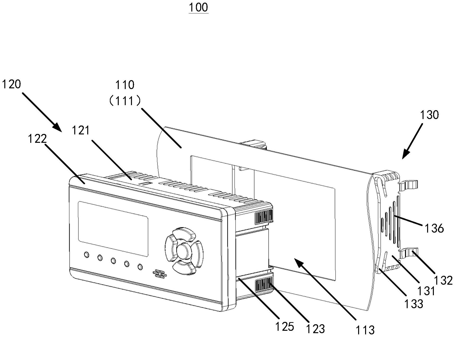
本实用新型提供了一种嵌入式安装结构,包括:面板,具有正面和背面,面板上设置有开口;安装主体,包括连接部和定位部,所述连接部插接于所述开口,所述连接部的外侧设置有定位区,所述定位部与所述面板的正面抵接;和安装卡件,所述安装卡件包括互相连接的卡扣和第一弹性臂,所述卡扣可滑动的卡接在所述连接部上;所述第一弹性臂弹性抵接于所述定位区,并通过与所述定位区的配合限定所述卡扣的位置。通过安装主体的定位部与面板的配合、以及安装主体的连接部与安装卡件的配合,可以将安装主体稳定的固定到面板上。安装卡件通过卡扣与连接部的配合以及第一弹性臂与定位区的配合,可以直接装卡到连接部上,操作方式简单,且不需要借助其它工具。


