授权公布号:CN214809959U
一种用于肥料加工生产的均匀混料系统
有效
申请
2020-12-25
申请公布
1970-01-01
授权
2021-11-23
预估到期
2030-12-25
| 申请号 | CN202023231737.4 |
| 申请日 | 2020-12-25 |
| 授权公布号 | CN214809959U |
| 授权公告日 | 2021-11-23 |
| 分类号 | B01F7/04;B01F15/02;B01F15/00;B01F3/22 |
| 分类 | 一般的物理或化学的方法或装置; |
| 申请人名称 | 河南捷农生化有限公司 |
| 申请人地址 | 河南省商丘市柘城县慈圣镇前梁开发区 |
专利法律状态
2021-11-23
授权
状态信息
授权
摘要
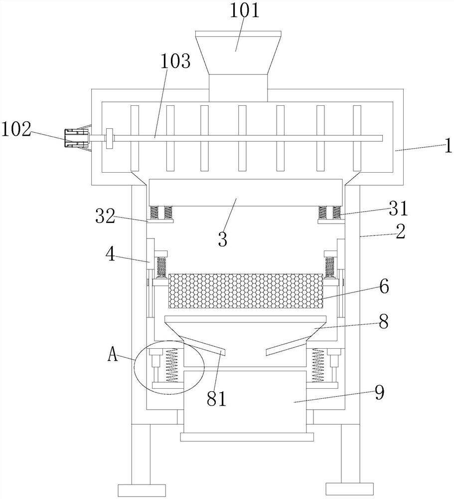
本实用新型公开了一种用于肥料加工生产的均匀混料系统,涉及肥料加工技术领域。包括混料箱和筛选箱,混料箱的顶部固定设置有进料漏斗,混料箱的一侧面固定设置有驱动电机,驱动电机的输出轴固定设置有延伸至混料箱内部的搅拌架。该用于肥料加工生产的均匀混料系统,通过设置第二筛选网,在放置板、导向杆、导向块以及连接弹簧的配合使用下,便于再次对混合后的肥料进行筛选操作,提高了加工质量,下料漏斗和下料板的设置,便于及时的将混合后的肥料下落到出料的内部,放置块、电动推杆以及伸缩弹簧的配合使用下,便于带动出料管进行上下运动,从而避免出料管发生堵塞,从而能够有效地提高肥料的混合加工效率。


