授权公布号:CN213832299U
一种肥料加工生产的灌装设备
有效
申请
2020-09-30
申请公布
1970-01-01
授权
2021-07-30
预估到期
2030-09-30
| 申请号 | CN202022234421.4 |
| 申请日 | 2020-09-30 |
| 授权公布号 | CN213832299U |
| 授权公告日 | 2021-07-30 |
| 分类号 | B65B37/00;B65B43/42;B65B1/04;B65B1/30 |
| 分类 | 输送;包装;贮存;搬运薄的或细丝状材料; |
| 申请人名称 | 河南捷农生化有限公司 |
| 申请人地址 | 河南省商丘市柘城县慈圣镇前梁开发区 |
专利法律状态
2021-07-30
授权
状态信息
授权
摘要
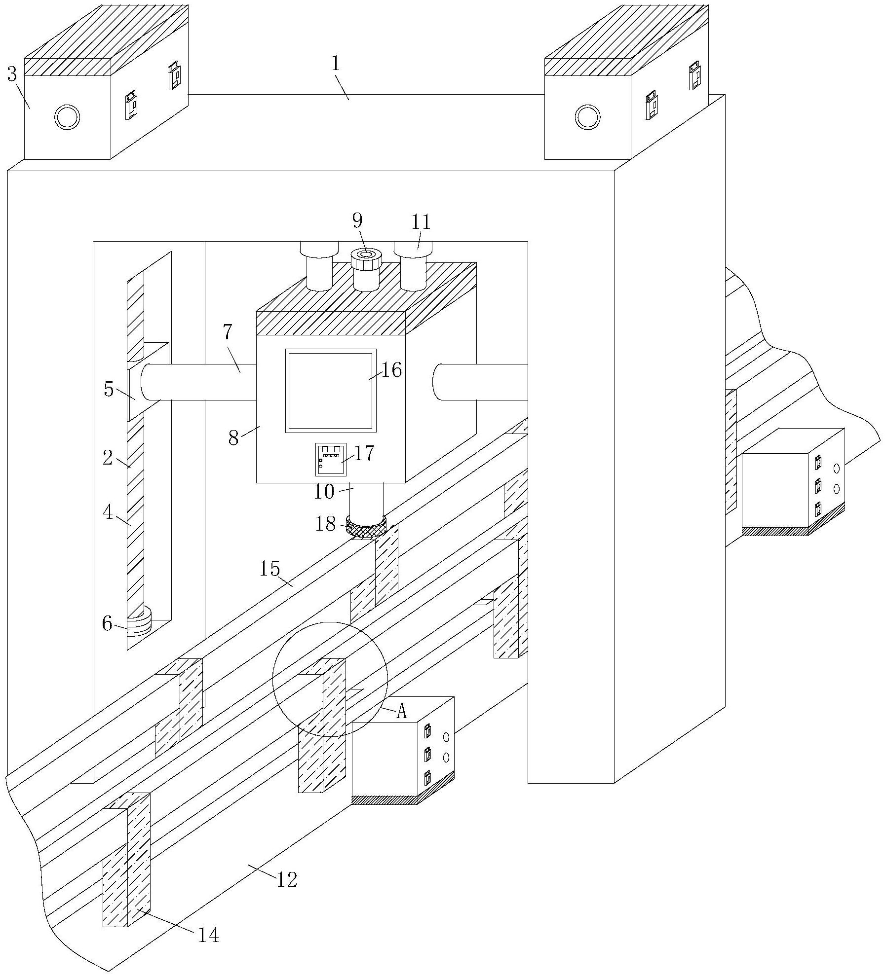
本实用新型公开了一种肥料加工生产的灌装设备,涉及肥料加工技术领域。包括机架,所述机架的一侧开设有活动槽。通过设置活动槽与位移块形状的匹配可以使得位移块可以在活动槽中活动设置,便于罐装机箱的升降和稳定,使得罐装机箱底部的罐装口能够正对着需要罐装的容器,高效有序,并且连接杆的对称也能辅助罐装机箱的稳定,增强设备的罐装能力,控制面板使得工人能够灵活调控罐装机箱在进行罐装中所注入的量,以此来调节在对不同容量的容器中所罐装的肥料量,增加设备的适用能力,并且通过橡胶层,可以防止罐装口在罐装时肥料出现残留的概率,而且橡胶层能够在出入容器时,会产生一个小型的压力场,增强罐装设备的罐装能力。


