授权公布号:CN217652350U
连接异形孔位铝模板的角铝
有效
申请
2022-05-17
申请公布
1970-01-01
授权
2022-10-25
预估到期
2032-05-17
| 申请号 | CN202221199575.7 |
| 申请日 | 2022-05-17 |
| 授权公布号 | CN217652350U |
| 授权公告日 | 2022-10-25 |
| 分类号 | E04G17/04 |
| 分类 | 建筑物; |
| 申请人名称 | 浙江谊科建筑技术发展有限公司 |
| 申请人地址 | 浙江省湖州市德清县乾元镇明星村 |
专利法律状态
2022-10-25
授权
状态信息
授权
摘要
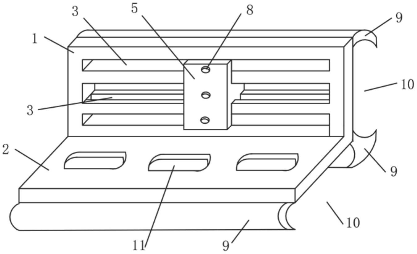
本实用新型属于建筑用异形孔位铝模板连接用具技术领域,尤其涉及一种连接异形孔位铝模板的角铝。本实用新型公开了连接异形孔位铝模板的角铝,包括角铝垂直板和角铝水平板,角铝垂直板和角铝水平板垂直相连,滑动槽上滑动设置有孔位连接板,孔位连接板上开设有三个固定孔,三个固定孔一一对应三条滑动槽;所述的角铝水平板上等间距开设有若干个长条圆孔。本实用新型的有益效果是:满足异型孔位铝模板的连接要求,通用型优点,并且能够多效用于各种孔位铝型材连接,能够后期反复回收,使其反复利用。


