授权公布号:CN219286600U
电池仓及安装结构
有效
申请
2023-03-16
申请公布
1970-01-01
授权
2023-06-30
预估到期
2033-03-16
| 申请号 | CN202320545302.1 |
| 申请日 | 2023-03-16 |
| 授权公布号 | CN219286600U |
| 授权公告日 | 2023-06-30 |
| 分类号 | H01M50/50;H01M50/244;H05K1/02 |
| 分类 | 基本电气元件; |
| 申请人名称 | 青鸟消防股份有限公司 |
| 申请人地址 | 北京市海淀区成府路207号北大青鸟楼C座 |
专利法律状态
2023-06-30
授权
状态信息
授权
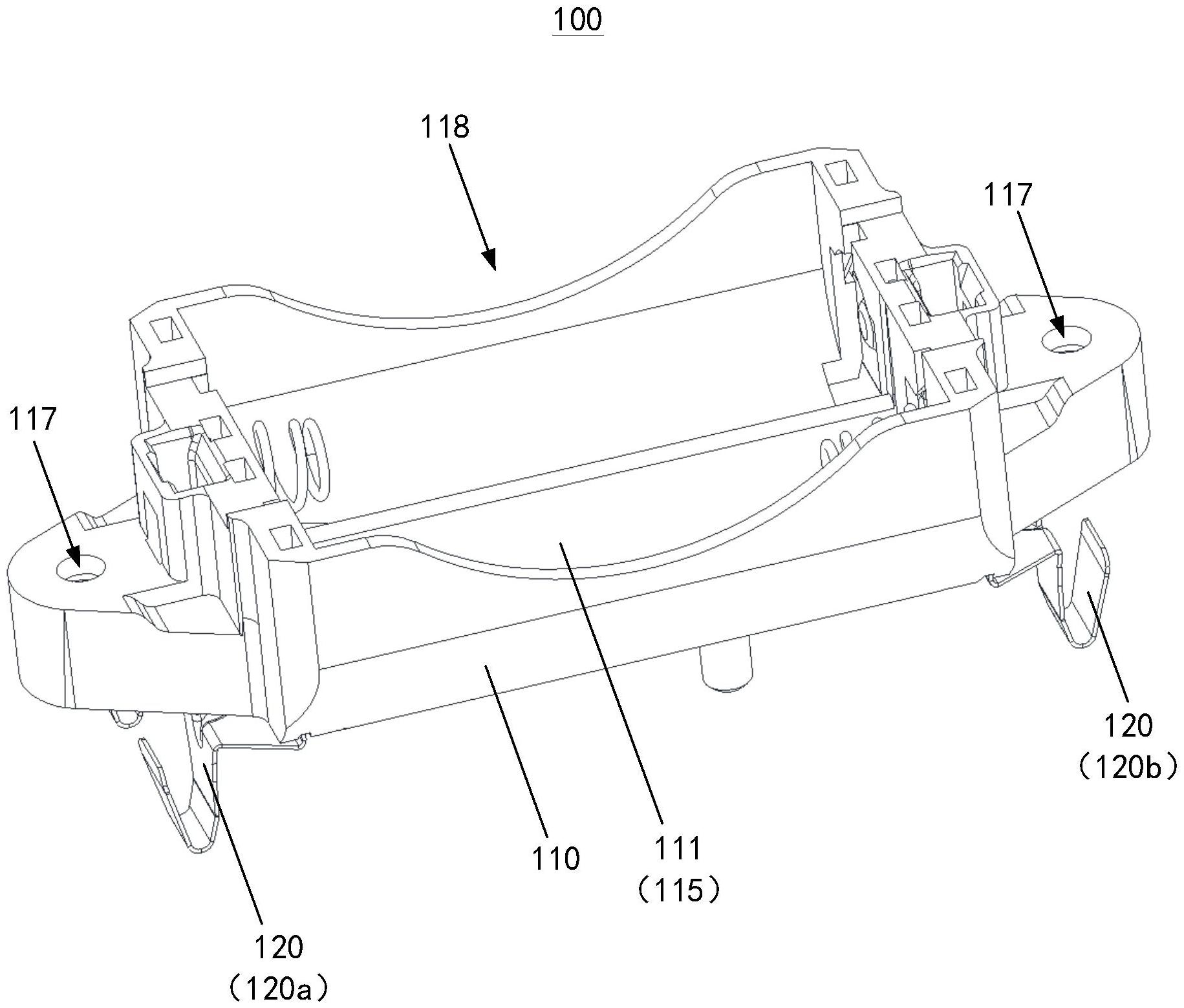
摘要
本实用新型提供了一种电池仓及安装结构。电池仓包括仓座,设置有容置槽、正极插孔和负极插孔,其中所述正极插孔和所述负极插孔间隔设置在所述仓座的底部,所述容置槽设置在所述仓座的顶部,并且所述容置槽的两端分别连通正极插孔与负极插孔;和多个电极弹片,分别设置在所述正极插孔与所述负极插孔中,所述电极弹片包括主体部和引脚部,所述主体部插接在所述正极插孔或所述负极插孔中,所述引脚部位于所述仓座之外,所述引脚部的中部设置有折弯,以将所述引脚部的尾端折向仓座。电池仓的安装拆卸方便,利于维修,结构可靠。通过在电极弹片的引脚部的中部设置折弯,使得引脚部可以与电路板上的焊盘弹性接触,保证电连接的稳定性。


