授权公布号:CN217652326U
异形楼面龙骨专用连接阴角
有效
申请
2022-01-04
申请公布
1970-01-01
授权
2022-10-25
预估到期
2032-01-04
| 申请号 | CN202220029090.7 |
| 申请日 | 2022-01-04 |
| 授权公布号 | CN217652326U |
| 授权公告日 | 2022-10-25 |
| 分类号 | E04G11/36;E04G17/00 |
| 分类 | 建筑物; |
| 申请人名称 | 浙江谊科建筑技术发展有限公司 |
| 申请人地址 | 浙江省湖州市德清县乾元镇明星村 |
专利法律状态
2022-10-25
授权
状态信息
授权
摘要
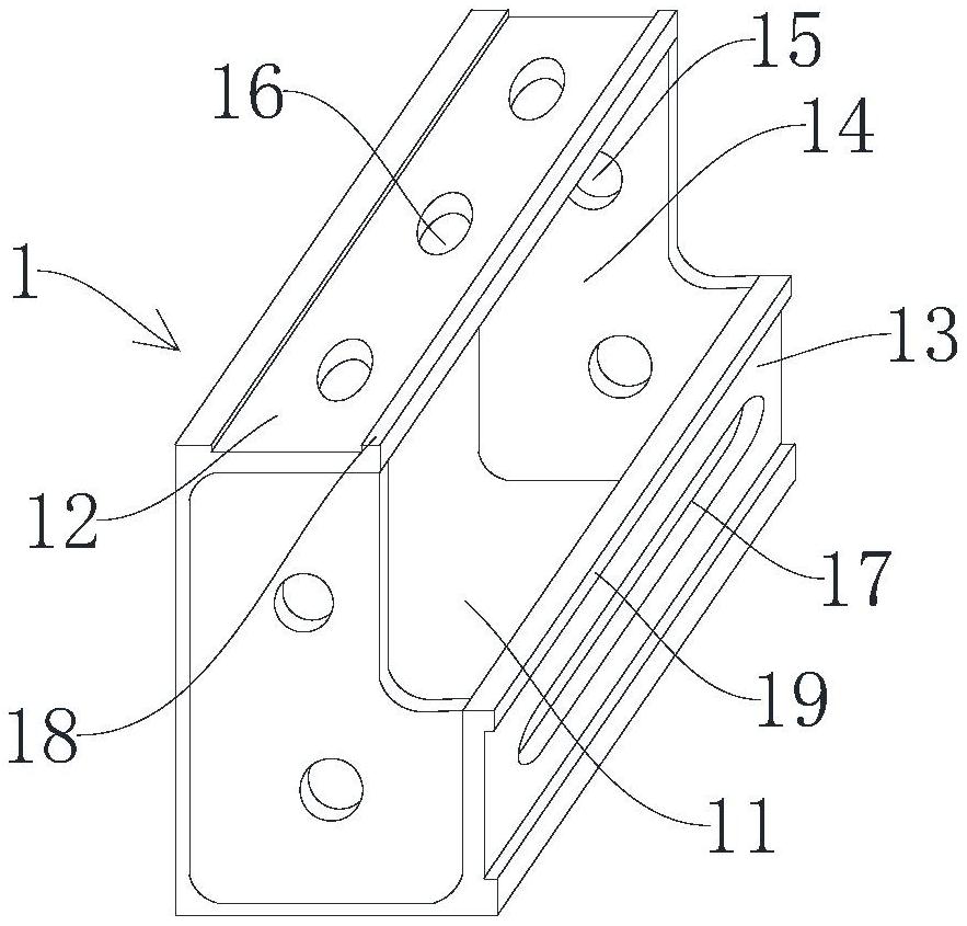
本实用新型公开了异形楼面龙骨专用连接阴角,包括连接阴角本体,连接阴角本体包括L型固定基板、设置在L型固定基板顶端的顶板、设置在L型固定基板侧部的连接侧板、设置在L型固定基板前后两端部的端部加固板、开设于两个端部加固板上的端部固定孔、开设于顶板上的顶部固定孔、开设于连接侧板上的侧面销钉孔、一体成型于顶板上且位于顶部固定孔两侧的顶部加固凸起和一体成型于连接侧板上且位于侧面销钉孔两侧的侧面加固凸起。本实用新型通过在连接阴角本体与楼面龙骨连接侧设置腰型的侧面销钉孔,楼面龙骨端头只需居中开销钉孔即可连接,大大减少龙骨种类,减少生产压力,而且使用操作简单、生产方便,可回收再用,且有利于异形楼面拼装后整形。


