授权公布号:CN107393263B
一种双杠杆式手动火灾报警按钮
有效
申请
2017-08-21
申请公布
2017-11-24
授权
2023-09-29
预估到期
2037-08-21
| 申请号 | CN201710719844.5 |
| 申请日 | 2017-08-21 |
| 申请公布号 | CN107393263A |
| 申请公布日 | 2017-11-24 |
| 授权公布号 | CN107393263B |
| 授权公告日 | 2023-09-29 |
| 分类号 | G08B25/12;H05K5/02 |
| 分类 | 信号装置; |
| 申请人名称 | 青鸟消防股份有限公司 |
| 申请人地址 | 北京市海淀区成府路207号北大青鸟楼C座2层 |
专利法律状态
2023-09-29
授权
状态信息
授权
2020-01-21
著录事项变更
状态信息
著录事项变更;IPC(主分类):G08B25/12;变更事项:申请人;变更前:北大青鸟环宇消防设备股份有限公司;变更后:青鸟消防股份有限公司;变更事项:地址;变更前:100871 北京市海淀区成府路207号北大青鸟楼C座2层;变更后:100871 北京市海淀区成府路207号北大青鸟楼C座2层
2017-12-19
实质审查的生效
状态信息
实质审查的生效;IPC(主分类):G08B25/12;申请日:20170821
2017-11-24
公布
状态信息
公布
摘要
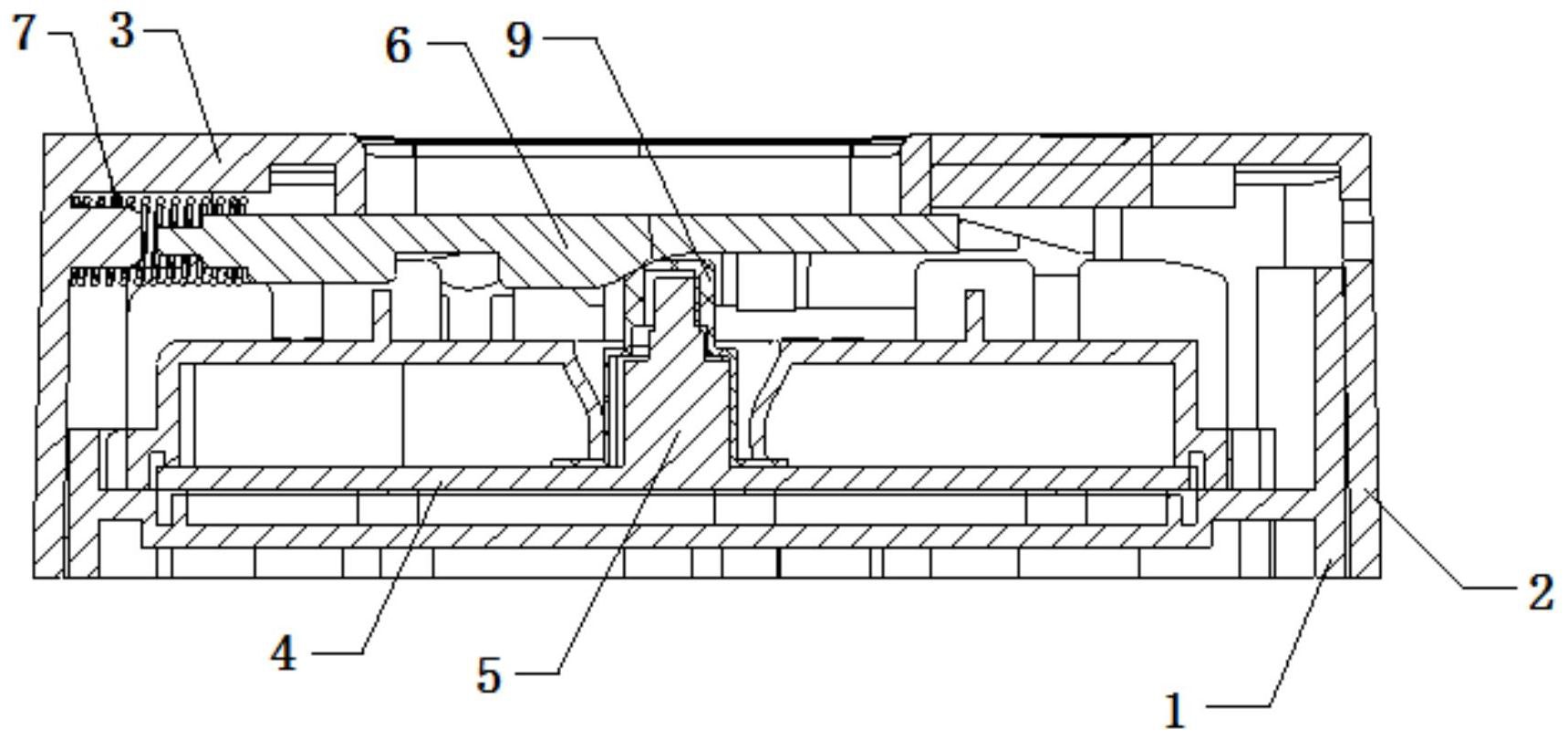
本发明公开了一种双杠杆式手动火灾报警按钮,包括由底座、侧立板和带有开口的上盖组成的盒体、固定在盒体内的电路板座、固定在所述电路板座上的电路板、设置在电路板上的触发开关以及可控制触发开关断开或闭合的操作面板,操作面板为平面板状结构,其上表面边缘贴合在上盖的开口边缘处,操作面板的一端通过压缩弹簧与侧立板抵靠连接,另一端与侧立板分离,操作面板的两侧沿其长度方向均设有杠杆,杠杆靠近压缩弹簧的一端通过扭簧与侧立板连接,且杠杆内侧伸出有凸块,凸块限位在操作面板的底部,另一端通过挡块限位在操作面板顶部。该火灾报警按钮具有可防止灰尘进入、报警迅速、安全性高和可靠性高等特点。


