授权公布号:CN204510700U
一种台模大龙骨
有效
申请
2015-01-26
申请公布
1970-01-01
授权
2015-07-29
预估到期
2025-01-26
| 申请号 | CN201520051212.2 |
| 申请日 | 2015-01-26 |
| 授权公布号 | CN204510700U |
| 授权公告日 | 2015-07-29 |
| 分类号 | E04F13/22;E04B9/06 |
| 分类 | 建筑物; |
| 申请人名称 | 广西广投同力德科技有限公司 |
| 申请人地址 | 广西壮族自治区南宁市青秀区民族大道109号投资大厦5楼518室 |
专利法律状态
2017-03-22
专利申请权、专利权的转移
状态信息
专利权的转移IPC(主分类):E04F 13/22登记生效日:20170301变更事项:专利权人变更前权利人:深圳市同力德金属制品有限公司变更后权利人:广西广投同力德科技有限公司变更事项:地址变更前权利人:518172 广东省深圳市龙岗区中心城碧湖豪苑18栋1601室变更后权利人:530022 广西壮族自治区南宁市青秀区民族大道109号投资大厦5楼518室
2015-07-29
授权
状态信息
授权
摘要
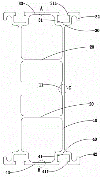
本实用新型公开了一种台模大龙骨,包括两个竖直设置的侧板,以及设于所述侧板之间的横板,所述横板与所述侧板的连接处为弧形结构连接,所述侧板的上端设有上连接件,所述侧板的下端设有与所述上连接件朝向相反的下连接件,所述上连接件包括设于所述侧板正上方的上连接凹槽,所述上连接凹槽的上端内表面设有凸沿朝向向内的上限位块;所述下连接件包括设于所述侧板正下方的下连接凹槽,所述下连接凹槽的下端内表面设有凸沿朝向向内的下限位块;所述侧板的内表面形成梯形的凸块。这种台模大龙骨结构简单、安装简单、施工方便。


