授权公布号:CN218668539U
一种建筑模板定位安装辅助装置
有效
申请
2022-08-27
申请公布
1970-01-01
授权
2023-03-21
预估到期
2032-08-27
| 申请号 | CN202222264228.4 |
| 申请日 | 2022-08-27 |
| 授权公布号 | CN218668539U |
| 授权公告日 | 2023-03-21 |
| 分类号 | E04G17/00 |
| 分类 | 建筑物; |
| 申请人名称 | 广西广投同力德科技有限公司 |
| 申请人地址 | 广西壮族自治区百色市田阳区头塘镇新山铝产业示范园13地块(广西广银铝业有限公司田阳分公司6#厂房) |
专利法律状态
2023-03-21
授权
状态信息
授权
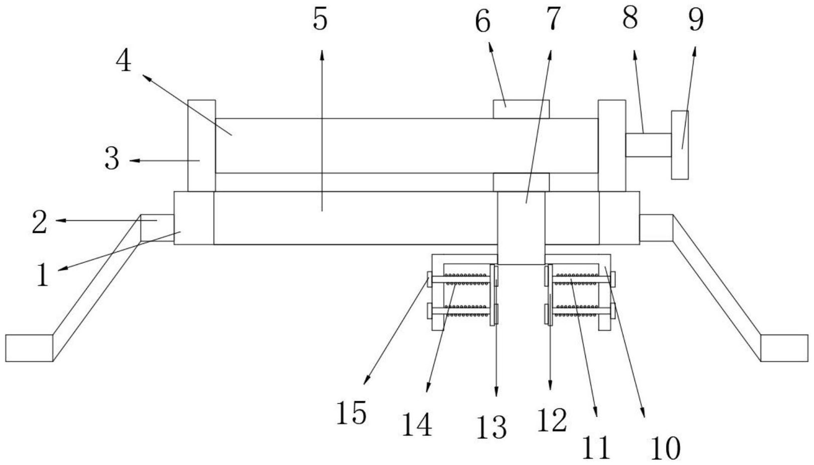
摘要
本实用新型公开了一种建筑模板定位安装辅助装置,包括主板、移动环、底框和夹持板,所述主板的顶部两端外壁均固定连接有挡板,且挡板的相对一端外壁之间通过轴承转动连接有螺纹杆,移动环通过螺纹套接于螺纹杆的圆周外壁,所述主板的顶部与底部外壁之间开有顶槽,且移动环的底部外壁固定连接有插接进顶槽内的限位板,两个所述底框分别固定连接于限位板的底部两端外壁,且底框的两端顶部和底部外壁之间均插接有伸缩杆,夹持板分别固定连接于伸缩杆的一端外壁之间。本实用新型实现了模板跟随移动环移动的效果,在转动把手对移动环进行移动时,标记板和指示板会对移动环的移动距离进行标记,从而实现了对模板安装位置的精确定位效果。


