授权公布号:CN218855411U
一种铝合金建筑模板冲压装置
有效
申请
2022-09-09
申请公布
1970-01-01
授权
2023-04-14
预估到期
2032-09-09
| 申请号 | CN202222400133.0 |
| 申请日 | 2022-09-09 |
| 授权公布号 | CN218855411U |
| 授权公告日 | 2023-04-14 |
| 分类号 | B21D37/14;B21D22/02;F16F15/08 |
| 分类 | 基本上无切削的金属机械加工;金属冲压; |
| 申请人名称 | 广西广投同力德科技有限公司 |
| 申请人地址 | 广西壮族自治区百色市田阳区头塘镇新山铝产业示范园13地块(广西广银铝业有限公司田阳分公司6#厂房) |
专利法律状态
2023-04-14
授权
状态信息
授权
摘要
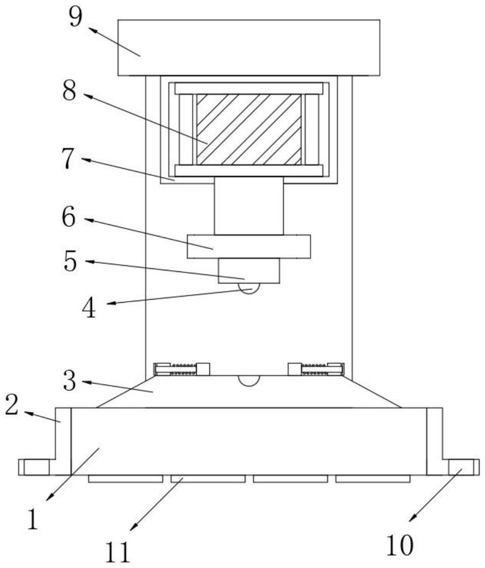
本实用新型公开了一种铝合金建筑模板冲压装置,包括底板、支撑台、顶箱和夹持板,所述支撑台固定连接于底板的顶部外壁,且底板的顶部一侧外壁固定连接有主板,主板的顶部一侧外壁固定连接有顶板,顶箱固定连接于顶板的底部外壁,所述顶箱的顶部内壁固定连接有液压缸,且液压缸的活塞端固定连接有升降板,升降板的底部外壁固定连接有连接柱,且连接柱的底部外壁固定连接有挤压球,挤压球为半球形结构,且支撑台的顶部外壁开有与挤压球相适配的第一成型孔。本实用新型利用处于升降板底部的连接柱和挤压球对放于支撑台上的模板进行挤压,并且由于支撑台的顶部开有与挤压球相对应的第一成型孔,从而实现了对模板的冲压成型效果。


