授权公布号:CN204510820U
一种木模和铝模的连接配合件
有效
申请
2015-01-26
申请公布
1970-01-01
授权
2015-07-29
预估到期
2025-01-26
| 申请号 | CN201520052281.5 |
| 申请日 | 2015-01-26 |
| 授权公布号 | CN204510820U |
| 授权公告日 | 2015-07-29 |
| 分类号 | E04G17/00 |
| 分类 | 建筑物; |
| 申请人名称 | 广西广投同力德科技有限公司 |
| 申请人地址 | 广西壮族自治区南宁市青秀区民族大道109号投资大厦5楼518室 |
专利法律状态
2017-03-15
专利申请权、专利权的转移
状态信息
专利权的转移IPC(主分类):E04G 17/00登记生效日:20170223变更事项:专利权人变更前权利人:深圳市同力德金属制品有限公司变更后权利人:广西广投同力德科技有限公司变更事项:地址变更前权利人:518172 广东省深圳市龙岗区中心城碧湖豪苑18栋1601室变更后权利人:530022 广西壮族自治区南宁市青秀区民族大道109号投资大厦5楼518室
2015-07-29
授权
状态信息
授权
摘要
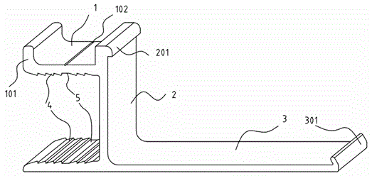
本实用新型公开了一种木模和铝模的连接配合件,包括平行设置的短横杆和长横杆以及垂直连接两者的竖直杆,所述竖直杆位于所述短横杆的右端部,所述短横杆的左端部与所述长横杆的左端部平齐,且两者相对的内侧表面上分别设有锯齿,每个所述锯齿中间通过一水平段过渡连接,所述水平段与所述锯齿的齿根部位于同一平面上,所述短横杆的另一表面的正中间设有半圆形的凹槽,且其左端部设有第一卡扣,所述竖直杆在靠近短横杆的端部设有第二卡扣,所述长横杆的右端部设有第三卡扣。这种采用锯齿和卡扣连接的方式,加工简单,成本低,连接稳固牢靠,灵活性强,当木模板与铝模板在墙身处同时施工时,本实用新型与两者相互配合使用,起到连接过渡的作用。


