授权公布号:CN211524079U
新型一体式楼梯踏步铝合金模板型材
有效
申请
2019-11-30
申请公布
1970-01-01
授权
2020-09-18
预估到期
2029-11-30
| 申请号 | CN201922131266.0 |
| 申请日 | 2019-11-30 |
| 授权公布号 | CN211524079U |
| 授权公告日 | 2020-09-18 |
| 分类号 | E04G13/06 |
| 分类 | 建筑物; |
| 申请人名称 | 山东迈拓林铝模板工程技术有限公司 |
| 申请人地址 | 山东省烟台市龙口市诸由观镇 |
专利法律状态
2020-09-18
授权
状态信息
授权
摘要
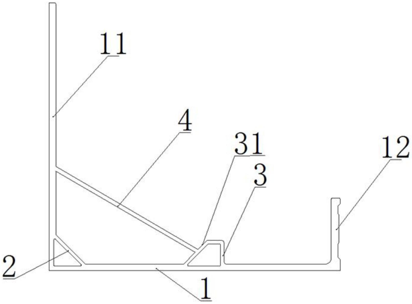
本实用新型涉及一种新型一体式楼梯踏步铝合金模板型材,其属于楼梯踏步铝合金模板领域。包括底板,底板的两端设有与底板一体成型的封板甲和封板乙,封板甲的长度长于封板乙的长度。本申请的新型一体式楼梯踏步铝合金模板型材可以做到铝模板整体使用,将底板与封边板甲和封边板一体成型,取消拼装缝隙,从而解决涨模及无法达到施工尺寸要求的问题,浇筑之后的混凝土平面度平整;并且设计方案简单,铝模板型材一体成型,在底板上还设有多边形的光面加筋,起到加固作用,整体性更好,在拆卸时不需要花费太多的时间,对于建筑工人来说大大提高了工作效率,也减轻频繁的工作量,总之在达到整体效果的同时节省了时间和减少了劳动量,又提高了效率。


