授权公布号:CN218996119U
缆式可恢复可定位的感温电缆及火灾报警系统
有效
申请
2022-12-08
申请公布
1970-01-01
授权
2023-05-09
预估到期
2032-12-08
| 申请号 | CN202223286194.5 |
| 申请日 | 2022-12-08 |
| 授权公布号 | CN218996119U |
| 授权公告日 | 2023-05-09 |
| 分类号 | G08B17/06 |
| 分类 | 信号装置; |
| 申请人名称 | 青鸟消防股份有限公司 |
| 申请人地址 | 北京市海淀区成府路207号北大青鸟楼C座 |
专利法律状态
2023-05-09
授权
状态信息
授权
摘要
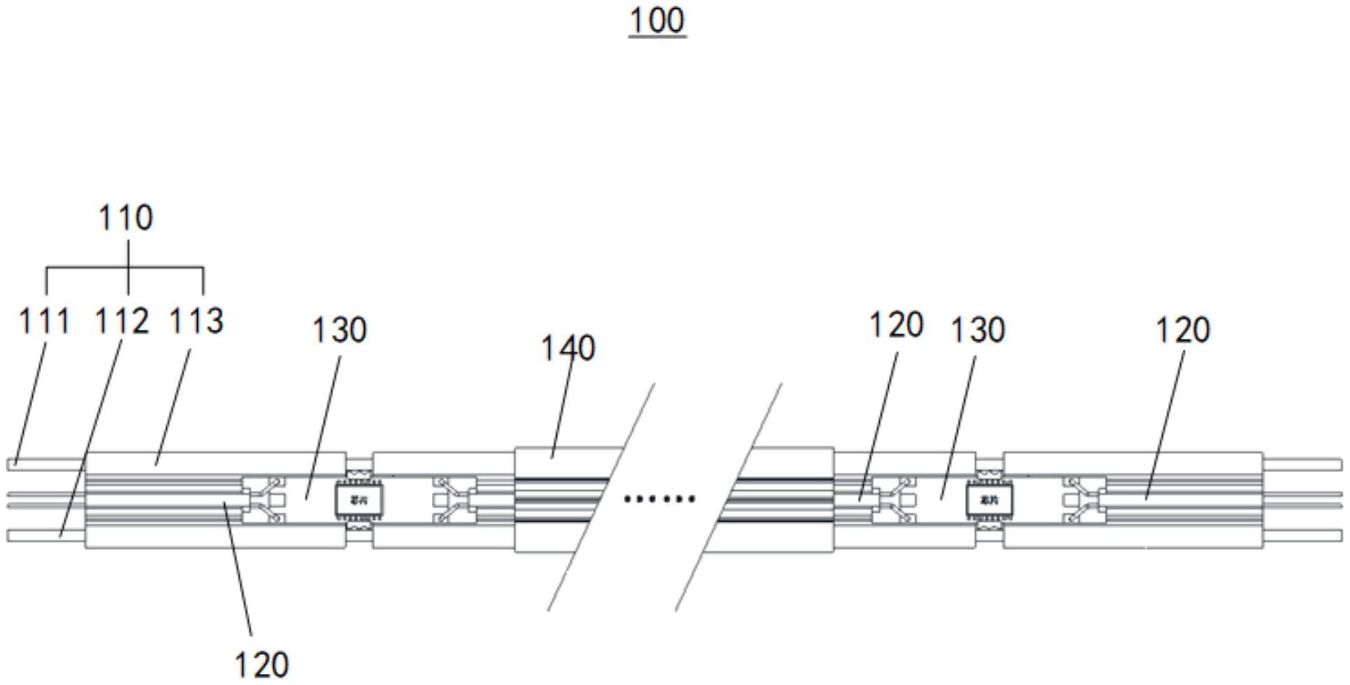
本实用新型提供了一种缆式可恢复可定位的感温电缆及火灾报警系统。感温电缆,包括:电源线;感温线,沿所述电源线的长度方向设置有多个,所述感温线包括第一导线、第二导线和感温材料,所述感温材料连接在所述第一导线与所述第二导线之间,所述感温材料为导体,并且所述感温材料的电阻值随温度的变化而改变;和感温控制单元,设置有多个,多个感温控制单元分别电连接在相邻的感温线之间,感温控制单元与所述电源线电连接,相邻的两个感温控制单元根据位于它们之间的感温材料的电阻值的变化,通过所述电源线发出火灾报警信号。当火灾发生时,靠近着火点的感温控制单元通过电源线发出火灾报警信号,根据发出火灾报警信号的感温控制单元的位置可以确定着火点的位置,利于在火灾发生的初期将火扑灭。


