授权公布号:CN213806208U
一种免天沟角件的箱式房上盖结构
有效
申请
2020-08-19
申请公布
1970-01-01
授权
2021-07-27
预估到期
2030-08-19
| 申请号 | CN202021736645.9 |
| 申请日 | 2020-08-19 |
| 授权公布号 | CN213806208U |
| 授权公告日 | 2021-07-27 |
| 分类号 | E04D13/00;E04D13/064 |
| 分类 | 建筑物; |
| 申请人名称 | 中建铝新材料有限公司 |
| 申请人地址 | 四川省成都市青羊区腾飞大道51号E区18栋 |
专利法律状态
2021-07-27
授权
状态信息
授权
2020-08-19
公布
状态信息
公布
摘要
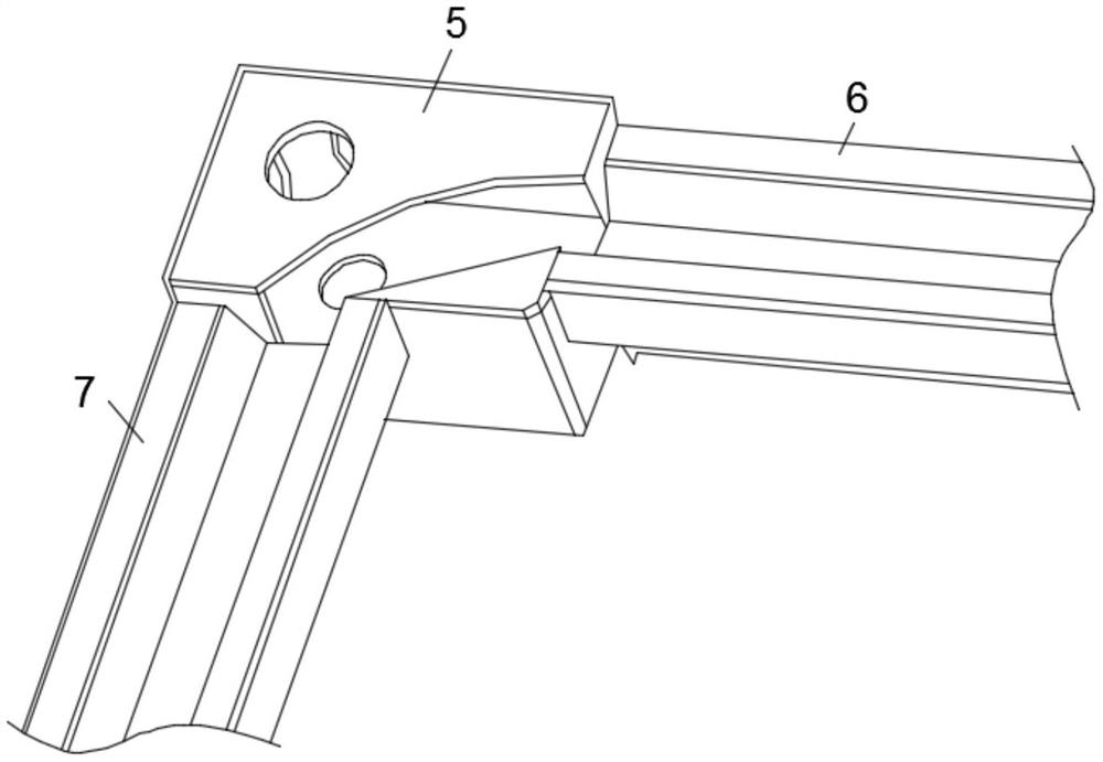
一种免天沟角件的箱式房上盖结构,涉及模块化建筑领域,本实用新型包括上横梁、上纵梁和角件,所述角件包括两块相互垂直的支撑板,两块支撑板的顶部设有顶板,两块支撑板上均设有和支撑板垂直的侧板,所述侧板的顶部和顶板垂直且相交,所述侧板上靠近顶板的一端设有通槽,所述上横梁和上纵梁通过通槽和角件连接为一体,所述顶板上设有便于排水的过水槽,两块支撑板之间还设有和顶板平行的连接板,所述连接板不高于通槽的底边,本实用新型的上横梁和上纵梁的结构相较于传统的上横梁和上纵梁的结构省去了两端切口的工序,本实用新型的角件相较于现有角件更改了结构,减少了材料、重量以及加工工序,具有节省用料成本且结构简单的优点。


