授权公布号:CN208056602U
工具化附着式物料自动爬升机构
有效
申请
2018-02-28
申请公布
1970-01-01
授权
2018-11-06
预估到期
2028-02-28
| 申请号 | CN201820280499.X |
| 申请日 | 2018-02-28 |
| 授权公布号 | CN208056602U |
| 授权公告日 | 2018-11-06 |
| 分类号 | E04G3/32;E04G5/00 |
| 分类 | 建筑物; |
| 申请人名称 | 中建铝新材料有限公司 |
| 申请人地址 | 四川省成都市青羊区腾飞大道51号E区18栋 |
专利法律状态
2018-11-06
授权
状态信息
授权
摘要
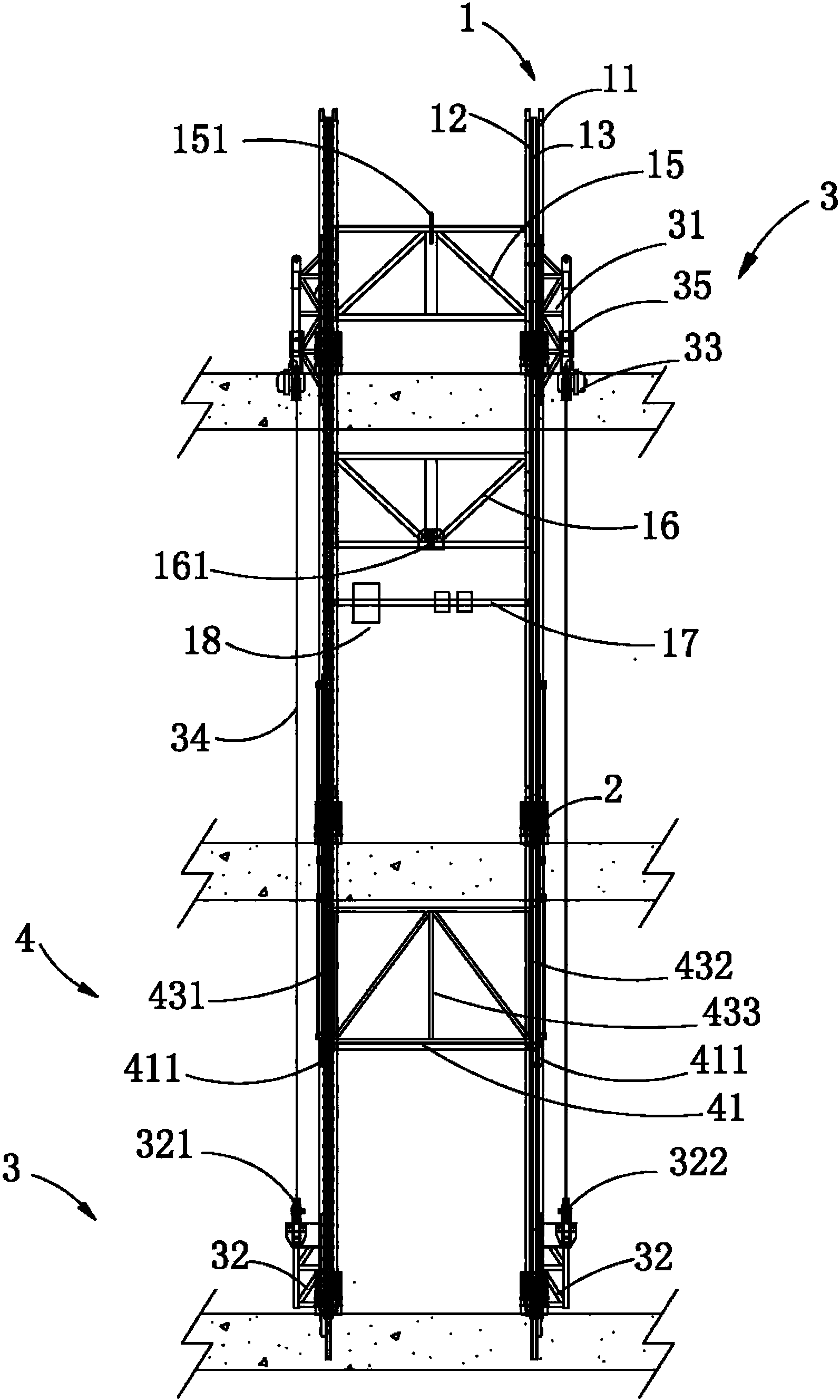
本实用新型提供了一种工具化附着式物料自动爬升机构,固定于结构梁上,所述爬升机构包括相对设置的两导轨、附墙组件、固定于所述两导轨相对外侧的升降组件及物料平台,所述附墙组件固定于所述结构梁上,所述两导轨分别穿设于所述附墙组件内,所述升降组件包括电动葫芦、定滑轮及提升绳,所述电动葫芦通过上吊点桁架设于所述两导轨的上部,所述滑轮设于所述两导轨的下部,所述提升绳与所述电动葫芦的副钩连接,所述提升绳绕过所述定滑轮固定于附墙吊挂件上,所述附墙吊挂件固定于所述结构梁上,所述物料平台固定于所述两导轨之间,所述物料平台随所述导轨运动而上下运动。本实用新型结构简单、使用方便,可周转使用,实用性较强。


