授权公布号:CN215041800U
一种室内装饰装修用的墙纸装贴器
有效
申请
2021-06-07
申请公布
1970-01-01
授权
2021-12-07
预估到期
2031-06-07
| 申请号 | CN202121272440.4 |
| 申请日 | 2021-06-07 |
| 授权公布号 | CN215041800U |
| 授权公告日 | 2021-12-07 |
| 分类号 | B44C7/02 |
| 分类 | 装饰艺术; |
| 申请人名称 | 浙江爱丽莎环保科技有限公司 |
| 申请人地址 | 浙江省衢州市常山县工业园区 |
专利法律状态
2021-12-07
授权
状态信息
授权
摘要
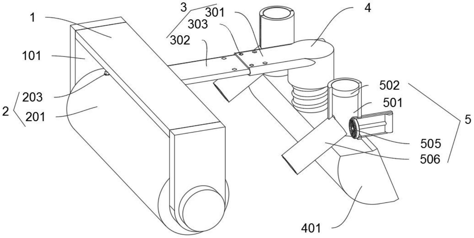
本实用新型提供一种室内装饰装修用的墙纸装贴器,包括顶件;所述顶件的底部内侧通过转轴连接安装有辅助固定机构;伸缩固定机构,所述伸缩固定机构固定安装在顶件的右侧;弹簧伸缩杆,所述弹簧伸缩杆固定安装在伸缩固定机构的右侧;热吹风机构,所述热吹风机构通过焊接固定安装在弹簧伸缩杆的左右两侧;通过设置有弹簧杆和撑块,为一种室内装饰装修用的墙纸装贴器提供了可以将成卷的墙纸给牢靠固定的功能,利用弹簧杆可以配合撑块将撑块撑起,能够实现防止粘贴墙纸时墙纸卷出现散落偏移的现象导致墙纸粘贴失败的目的,增强了整体装置的实用性,有利于防止出现粘贴散落、偏移的错误。


