授权公布号:CN218463389U
一种墙纸铺贴刮板装置
有效
申请
2022-07-18
申请公布
1970-01-01
授权
2023-02-10
预估到期
2032-07-18
| 申请号 | CN202221852323.X |
| 申请日 | 2022-07-18 |
| 授权公布号 | CN218463389U |
| 授权公告日 | 2023-02-10 |
| 分类号 | B44C7/02;B44C7/08 |
| 分类 | 装饰艺术; |
| 申请人名称 | 浙江爱丽莎环保科技有限公司 |
| 申请人地址 | 浙江省衢州市常山县浙江常山工业园区 |
专利法律状态
2023-02-10
授权
状态信息
授权
摘要
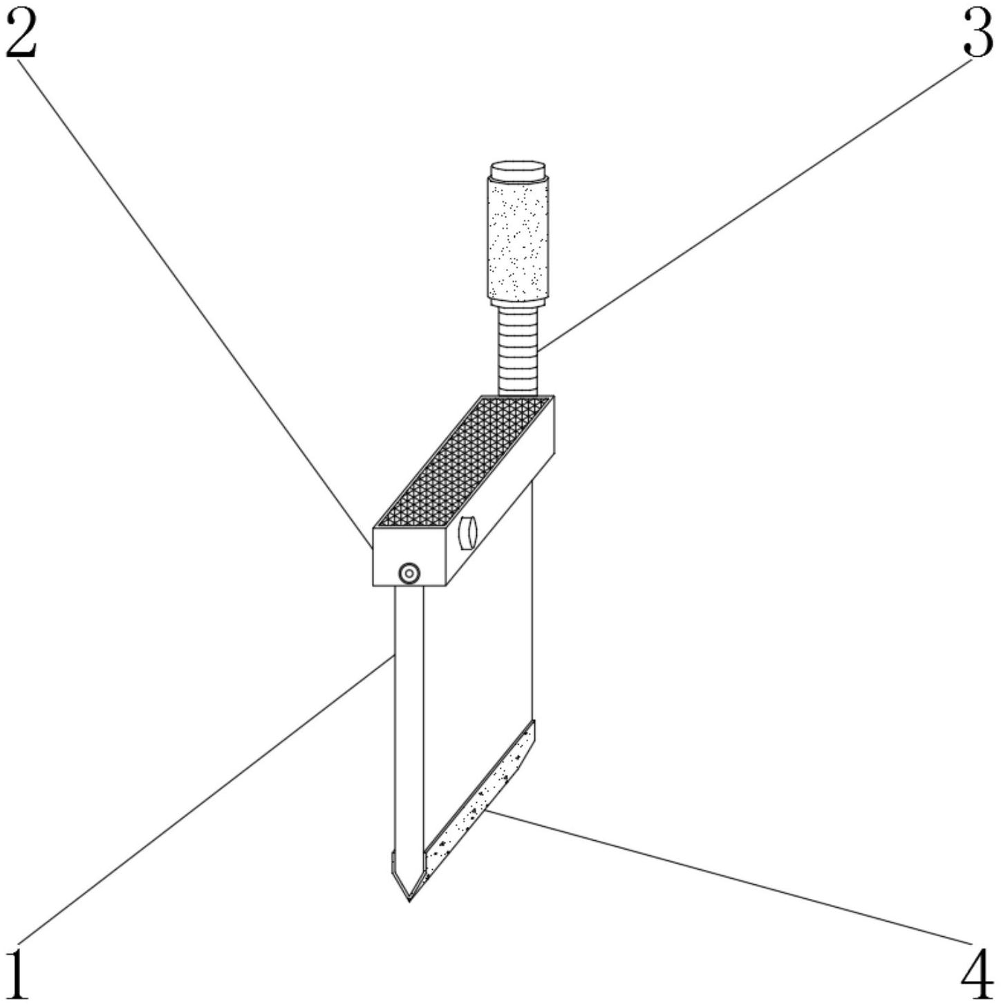
本实用新型公开了一种墙纸铺贴刮板装置,涉及墙纸铺贴领域,包括刮板本体,所述刮板本体的上端外表面设有除尘加热机构,所述除尘加热机构的一侧外表面设有握把机构,所述刮板本体的下端外表面设有防护胶贴。本实用新型所述的一种墙纸铺贴刮板装置,设置的握把机构在使用时可通过手持握把调节螺纹杆的长度,方便工人对刮板本体进行操作使用时,可起到延长刮板本体的效果,防护胶贴在使用时可对墙纸起到保护的效果,可避免刮板本体对墙纸进行刮贴时产生划痕,设置的除尘加热机构在使用时可通过微型风机起到吹风除尘的效果,可保障墙面的洁净度,并且可通过电热管对墙纸的黏贴处进行加热,便于冬季对墙纸进行铺贴,可保障墙纸的粘性。


