授权公布号:CN214724977U
具有稳定导向结构的木柜板材直线修边机
有效
申请
2021-05-13
申请公布
1970-01-01
授权
2021-11-16
预估到期
2031-05-13
| 申请号 | CN202121015855.3 |
| 申请日 | 2021-05-13 |
| 授权公布号 | CN214724977U |
| 授权公告日 | 2021-11-16 |
| 分类号 | B27C5/02;B27C5/04;B27G3/00 |
| 分类 | 木材或类似材料的加工或保存;一般钉钉机或钉U形钉机; |
| 申请人名称 | 浙江三晟家居有限公司 |
| 申请人地址 | 浙江省衢州市龙游县东华街道鼎新路(东)2号 |
专利法律状态
2021-11-16
授权
状态信息
授权
摘要
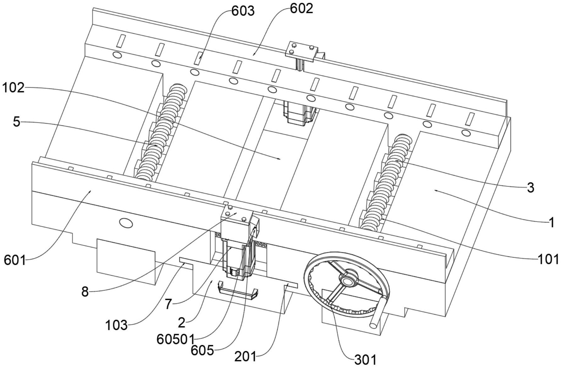
具有稳定导向结构的木柜板材直线修边机,包括工作台;所述工作台的顶部端面左右两侧开设有滑动槽,工作台的顶部端面上设置有导向机构,工作台的后侧中间处开设有内凹槽,工作台的前侧壁中设置有调节机构;所述修边机的刀头顶部开设有锥形凹槽;所述盖板设置于导向机构的顶部;该具有稳定导向结构的木柜板材直线修边机通过将板材放置在固定导向板和滑动导向板的辊轮顶部,辊轮可以减少板材与固定导向板和滑动导向板端面之间的摩擦力,使板材前进的更加顺畅,通过修边机去除的木屑通过木屑排放道从木屑排放口排出,将布袋挂在木屑排放口右侧前后外侧壁上设置的挂钩,对从木屑排放口排出的木屑进行收集操作,防止木屑飞溅对加工环境造成污染。


