授权公布号:CN214770952U
一种基于护墙板制备成型用直线砂边机
有效
申请
2021-02-20
申请公布
1970-01-01
授权
2021-11-19
预估到期
2031-02-20
| 申请号 | CN202120383258.X |
| 申请日 | 2021-02-20 |
| 授权公布号 | CN214770952U |
| 授权公告日 | 2021-11-19 |
| 分类号 | B24B9/00;B24B41/06;B24B47/22;B24B47/12;B24B55/06 |
| 分类 | 磨削;抛光; |
| 申请人名称 | 浙江三晟家居有限公司 |
| 申请人地址 | 浙江省衢州市龙游县东华街道鼎新路(东)2号 |
专利法律状态
2021-11-19
授权
状态信息
授权
摘要
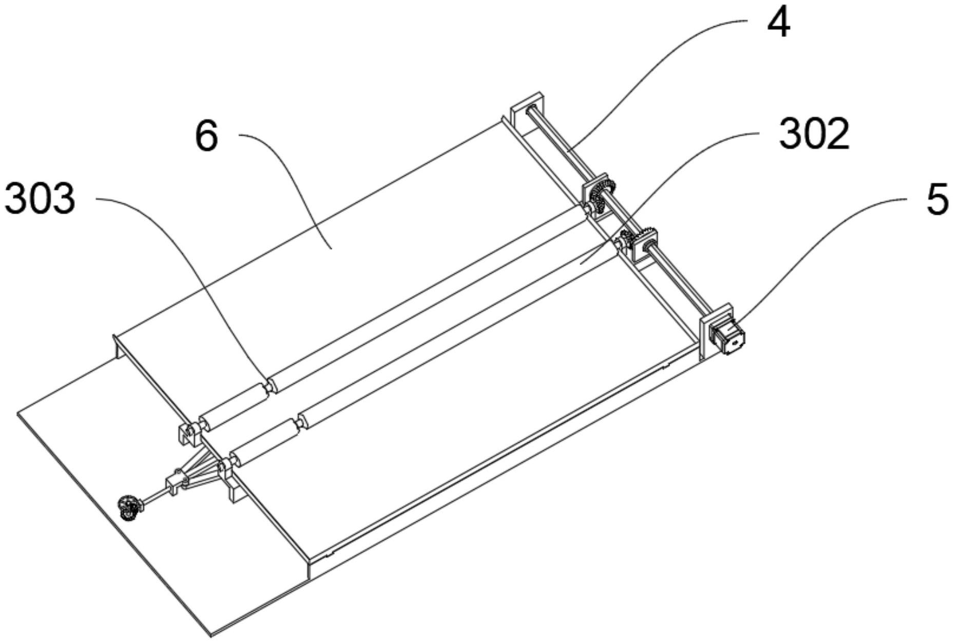
本实用新型提供一种基于护墙板制备成型用直线砂边机,包括底座和打磨装置;所述底座的顶部中间一体式设置有中间架;所述底座的后侧顶部通过轴承旋转设置有六边形轴,轴架结构的一侧设置电机与六边形轴传动连接;所述打磨装置还包括有方槽,砂辊,梯型环槽;所述打磨装置的顶部横向开设有方槽;中间架和打磨装置的设置,为砂边机提供了快速调整打磨宽度的功能,能快速调整砂轮配合不同的护墙板进行打磨,将护墙板的边角放置在中间架的顶部,然后按住护墙板的顶部,转动手轮轴带动丝杠旋转,丝杠利用螺纹传动带动双面轴架和导杆向前移动,配合连杆将两组打磨装置向内靠拢,将砂辊向中间靠齐即可实现对位。


