授权公布号:CN209353952U
一种门套线条一体化结构
有效
申请
2018-10-19
申请公布
1970-01-01
授权
2019-09-06
预估到期
2028-10-19
| 申请号 | CN201821697914.8 |
| 申请日 | 2018-10-19 |
| 授权公布号 | CN209353952U |
| 授权公告日 | 2019-09-06 |
| 分类号 | E06B1/34 |
| 分类 | 一般门、窗、百叶窗或卷辊遮帘;梯子; |
| 申请人名称 | 湖南航天康达塑胶有限公司 |
| 申请人地址 | 湖南省长沙市岳麓区枫林三路1068号湖南东方红鞋业有限公司厂内 |
专利法律状态
2019-09-06
授权
状态信息
授权
摘要
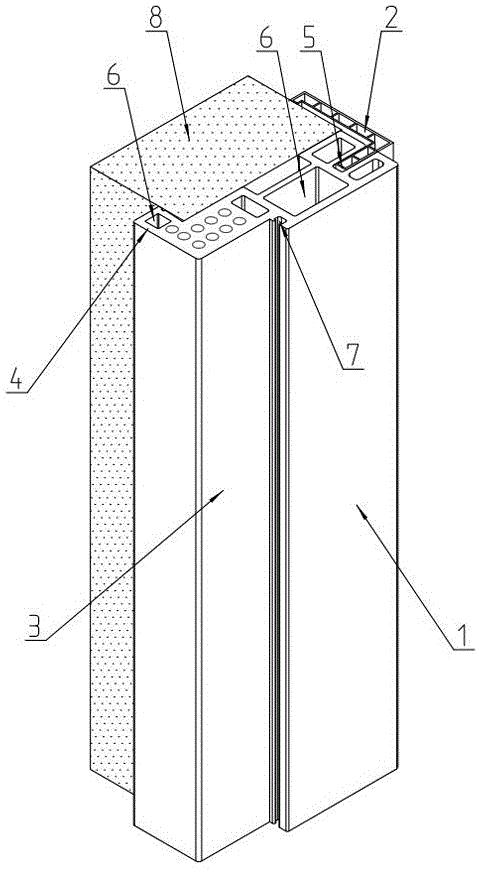
本实用新型涉及一种门套线条一体化结构,包括门套和门套线,所述门套一侧设有与门套一体成型的“L”形的卡接部,所述卡接部的外侧具有卡爪,所述卡爪连接于墙体上,门套另一侧沿门套长度方向开有伸缩槽;所述门套线的一端嵌于所述伸缩槽内,门套线另一端连接于墙体上。采用高分子材料通过模具经高温挤压而成,能够定制不同尺寸规格的门套,避免了材料的浪费。并且一边与线条结合减少了线条调节的范围,安装过程简单快捷,能够直接适用于大多数门套的安装。材料具有防水性,可用于各种潮湿、盐雾环境中,并且不含甲醛、VOC有机挥发成分。门套线条一体化结构,根据砌块结构固定几种规格批量生产,减少安装麻烦,减少线条的匹配,提高劳动效率。


