授权公布号:CN210625733U
一种琴包内用温湿度计固定装置
有效
申请
2019-11-01
申请公布
1970-01-01
授权
2020-05-26
预估到期
2029-11-01
| 申请号 | CN201921873481.1 |
| 申请日 | 2019-11-01 |
| 授权公布号 | CN210625733U |
| 授权公告日 | 2020-05-26 |
| 分类号 | G01D21/02;G01D11/00 |
| 分类 | 测量;测试; |
| 申请人名称 | 漳州市旭日乐器有限公司 |
| 申请人地址 | 福建省漳州市芗城区金峰工业区北斗工业园金闽路西侧 |
专利法律状态
2020-05-26
授权
状态信息
授权
摘要
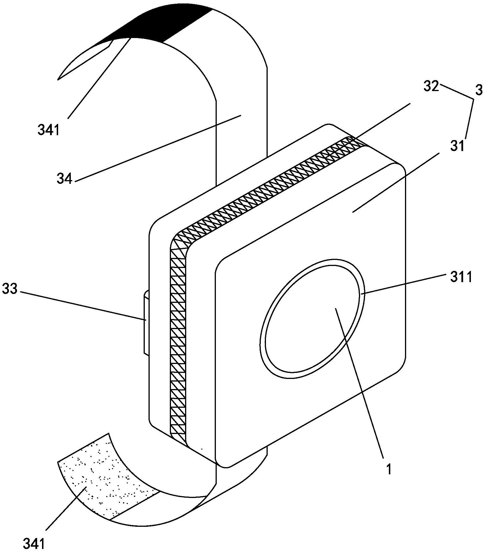
本实用新型公开了一种琴包内用温湿度计固定装置,其包括温湿度计、缓冲垫和放置袋,所述缓冲垫上设有与所述温湿度计的外形相适配的容腔,所述温湿度计可内嵌在所述容腔内,所述放置袋设有袋体和拉链,所述袋体的其中一侧面设有开口,所述缓冲垫可放置在所述袋体内,并且所述温湿度计的显示屏可通过所述开口外露;所述袋体的另一侧面缝制有连接带,所述连接带与袋体之间设有让位部,两端分别设有对应的魔术贴的固定带可穿过所述让位部,所述固定带可拆卸地连接在琴上。本实用新型的有益效果是,温湿度计的显示屏露出可以让使用者快速的了解琴包内的温湿度,从而对琴进行保养,有效提高琴的使用寿命。


