授权公布号:CN111593837B
层间幕墙系统
有效
申请
2020-05-14
申请公布
2020-08-28
授权
2021-07-13
预估到期
2040-05-14
| 申请号 | CN202010407691.2 |
| 申请日 | 2020-05-14 |
| 申请公布号 | CN111593837A |
| 申请公布日 | 2020-08-28 |
| 授权公布号 | CN111593837B |
| 授权公告日 | 2021-07-13 |
| 分类号 | E04B2/88;E04B2/96 |
| 分类 | 建筑物; |
| 申请人名称 | 江河创建集团股份有限公司 |
| 申请人地址 | 北京市顺义区牛汇北五街5号 |
专利法律状态
2021-07-13
授权
状态信息
授权
2020-09-22
实质审查的生效
状态信息
实质审查的生效 IPC(主分类):E04B2/88
2020-08-28
公布
状态信息
公布
摘要
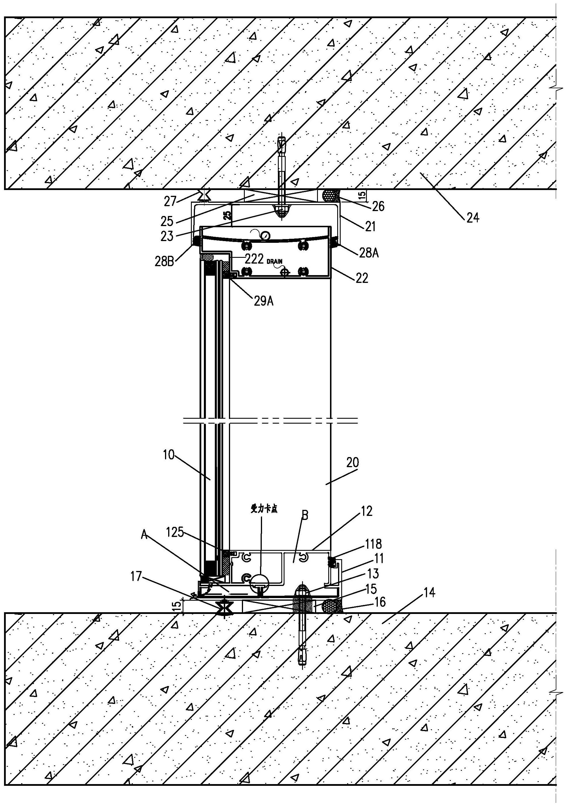
本发明公开了一种层间幕墙系统,它包括下横梁结构、上横梁结构和单元板块;该单元板块安装在下横梁结构和上横梁结构之间,该下横梁结构的起底横梁和与幕墙下横梁盖卡,该上横梁结构的顶部横梁和幕墙上横梁插配,该幕墙上横梁的端部与立柱连接,该幕墙下横梁的端部与立柱连接,在幕墙上横梁与幕墙下横梁之间安装玻璃面板。本发明将层间幕墙系统的通透性做到了最大化;极大的提高了现场安装效率,安装板块后仅需塞紧胶条即可,大量节约人工;易于现场安装更换的层间幕墙系统,极大的保证了工人的人身安全。


