授权公布号:CN220185000U
具有防水功能的内开窗
有效
申请
2023-04-24
申请公布
1970-01-01
授权
2023-12-15
预估到期
2033-04-24
| 申请号 | CN202320952056.1 |
| 申请日 | 2023-04-24 |
| 授权公布号 | CN220185000U |
| 授权公告日 | 2023-12-15 |
| 分类号 | E06B7/14;E06B7/23 |
| 分类 | 一般门、窗、百叶窗或卷辊遮帘;梯子; |
| 申请人名称 | 北京东方泰洋幕墙股份有限公司 |
| 申请人地址 | 北京市大兴区北京经济技术开发区(大兴)旧宫镇工业区南区甲2号 |
专利法律状态
2023-12-15
授权
状态信息
授权
摘要
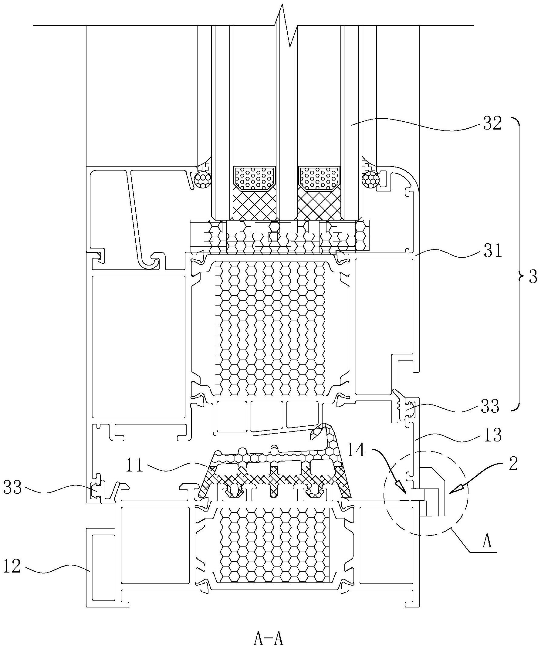
本申请涉及门窗结构的领域,尤其是涉及一种具有防水功能的内开窗,包括窗框,所述窗框内皮固定有主胶条,所述主胶条将所述窗框分为靠近室内的内框及靠近室外的外框,所述外框底部侧壁开有排水孔,所述外框上设有用于封堵所述排水孔的封堵机构。无需排水时,封堵机构封堵排水孔,能够有效减少冬天室内透风导致保暖效果差的问题,还能尽量避免强风透过排水孔产生尖锐异响,提高居住体验感。本申请具有尽量避免排水孔漏风,提高窗户的密封性的效果。


