授权公布号:CN211858100U
一种用于钢琴背架框打孔的固定装置
有效
申请
2020-01-13
申请公布
1970-01-01
授权
2020-11-03
预估到期
2030-01-13
| 申请号 | CN202020068804.6 |
| 申请日 | 2020-01-13 |
| 授权公布号 | CN211858100U |
| 授权公告日 | 2020-11-03 |
| 分类号 | G10C3/00;G10C3/02 |
| 分类 | 乐器;声学; |
| 申请人名称 | 北京星海钢琴集团有限公司 |
| 申请人地址 | 北京市通州区中关村科技园通州园光机电一体化产业基地科创东五街8号 |
专利法律状态
2020-11-03
授权
状态信息
授权
摘要
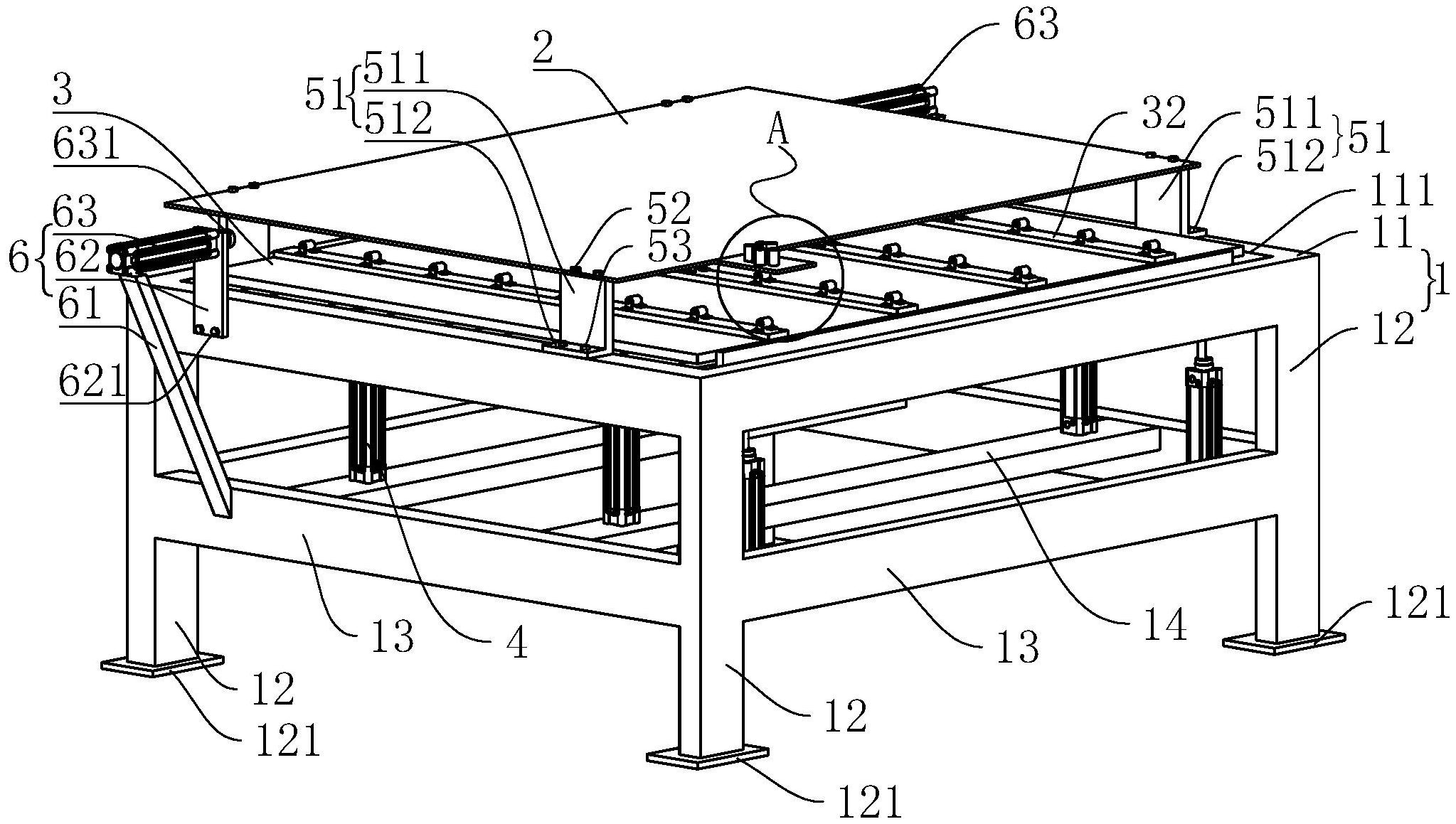
本实用新型公开了一种用于钢琴背架框打孔的固定装置,包括支撑架,所述支撑架的上方通过固定件可拆卸连接有上压板,所述背架框位于支撑架和上压板之间,所述上压板和所述支撑架之间设置有实现背架框上升下降的伸缩支撑组件;所述上压板一侧外壁焊接有打孔底板,所述打孔底板的上表面开设有多个供手电钻钻头穿过的孔洞。其加强对背架框的固定,提高对背架框的打孔精确度。


