授权公布号:CN216380378U
一种墙板连接结构
有效
申请
2021-09-29
申请公布
1970-01-01
授权
2022-04-26
预估到期
2031-09-29
| 申请号 | CN202122388914.8 |
| 申请日 | 2021-09-29 |
| 授权公布号 | CN216380378U |
| 授权公告日 | 2022-04-26 |
| 分类号 | E04F13/076;E04F13/22 |
| 分类 | 建筑物; |
| 申请人名称 | 黄山金菱新材料有限公司 |
| 申请人地址 | 安徽省黄山市屯溪区九龙低碳工业园区凤山路8号 |
专利法律状态
2022-04-26
授权
状态信息
授权
摘要
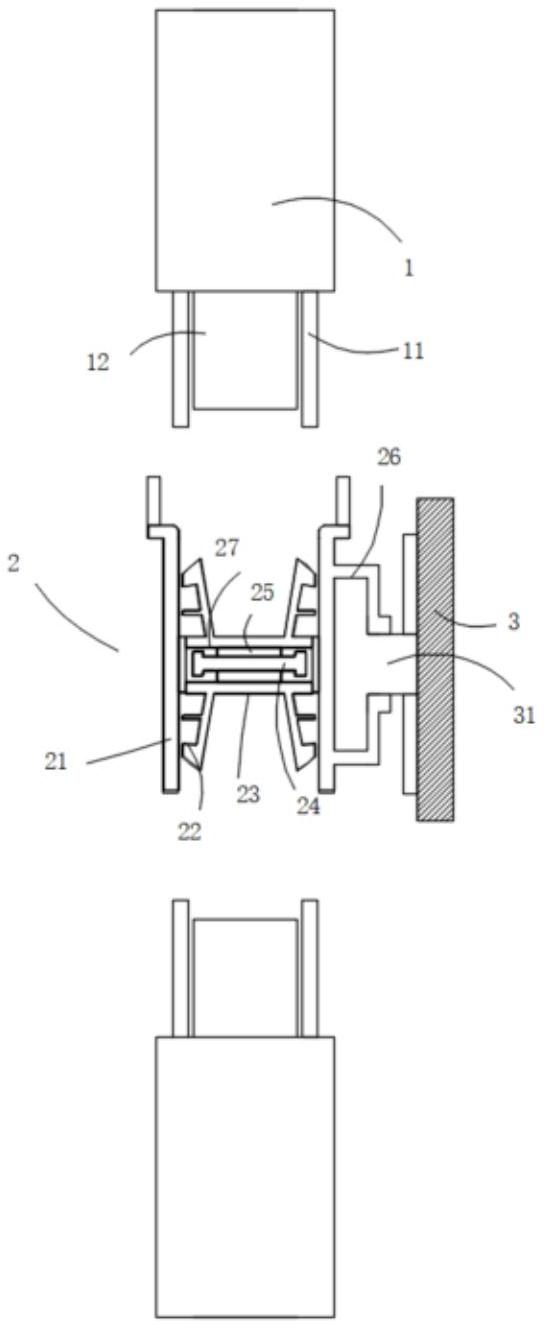
本实用新型公开了一种墙板连接结构,包括墙板、连接件以及墙体,连接件预安装固定在墙体上,连接件开设一个安装口供墙板插入安装;墙板靠近于连接件的端部设置有插入端,插入端的中部为板芯,板芯的两侧均间隔安装有防脱板;连接件由壳体围设出一个空腔,在空腔内固定安装有橡塑材料制成的夹持件,夹持件的中部设有供板芯插入的通槽,通槽的侧壁与壳体的内侧壁之间预留出间隙供防脱板插入。本实用新型的墙板安装结构,结构设计合理,特别是在安装上非常的方便,采用直插式安装,插入之后在夹持件的作用下,板芯与防脱板相互挤压,籍由橡塑材料的夹持件增大摩擦,以达到安装稳定的效果。


