授权公布号:CN215205783U
梳棉抽轴装置
有效
申请
2021-04-09
申请公布
1970-01-01
授权
2021-12-17
预估到期
2031-04-09
| 申请号 | CN202120727778.8 |
| 申请日 | 2021-04-09 |
| 授权公布号 | CN215205783U |
| 授权公告日 | 2021-12-17 |
| 分类号 | B65B63/04;B65H18/10;B65H18/02;B65H19/30;D01G27/00 |
| 分类 | 输送;包装;贮存;搬运薄的或细丝状材料; |
| 申请人名称 | 苏州铃兰医疗用品有限公司 |
| 申请人地址 | 江苏省苏州市太仓市浏河镇浏茜路东侧 |
专利法律状态
2021-12-17
授权
状态信息
授权
摘要
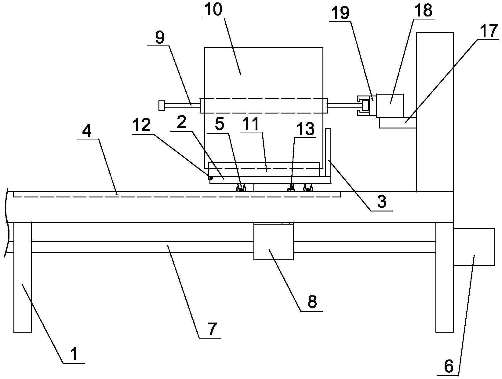
本实用新型公开了一种梳棉抽轴装置,其特征在于:包括机架、棉卷支撑装置及抓轴装置,所述抓轴装置设置于所述棉卷支撑装置的右侧上方;所述棉卷支撑装置包括支撑板及立板,所述支撑板的底部滑动设置于所述机架上,所述立板的底部垂直安装于所述支撑板的顶部右侧,所述抓轴装置设置于所述立板的右侧上方;所述支撑板下方的机架安装有一驱动电机及滚珠丝杆,所述滚珠丝杆转动安装于所述机架上,所述驱动电机的输出轴与所述滚珠丝杆的右端相连,所述支撑板的底面中部经一支架与所述滚珠丝杆相连,所述滚珠丝杆的转动会带动所述支撑板及立板左右移动。本实用新型提高了抽轴效率,降低了操作人员劳动强度。


