授权公布号:CN216719468U
一体式击弦机转击器
有效
申请
2021-12-29
申请公布
1970-01-01
授权
2022-06-10
预估到期
2031-12-29
| 申请号 | CN202123368447.9 |
| 申请日 | 2021-12-29 |
| 授权公布号 | CN216719468U |
| 授权公告日 | 2022-06-10 |
| 分类号 | G10C3/16 |
| 分类 | 乐器;声学; |
| 申请人名称 | 北京星海钢琴集团有限公司 |
| 申请人地址 | 北京市通州区中关村科技园通州园光机电一体化产业基地科创东五街8号 |
专利法律状态
2022-06-10
授权
状态信息
授权
摘要
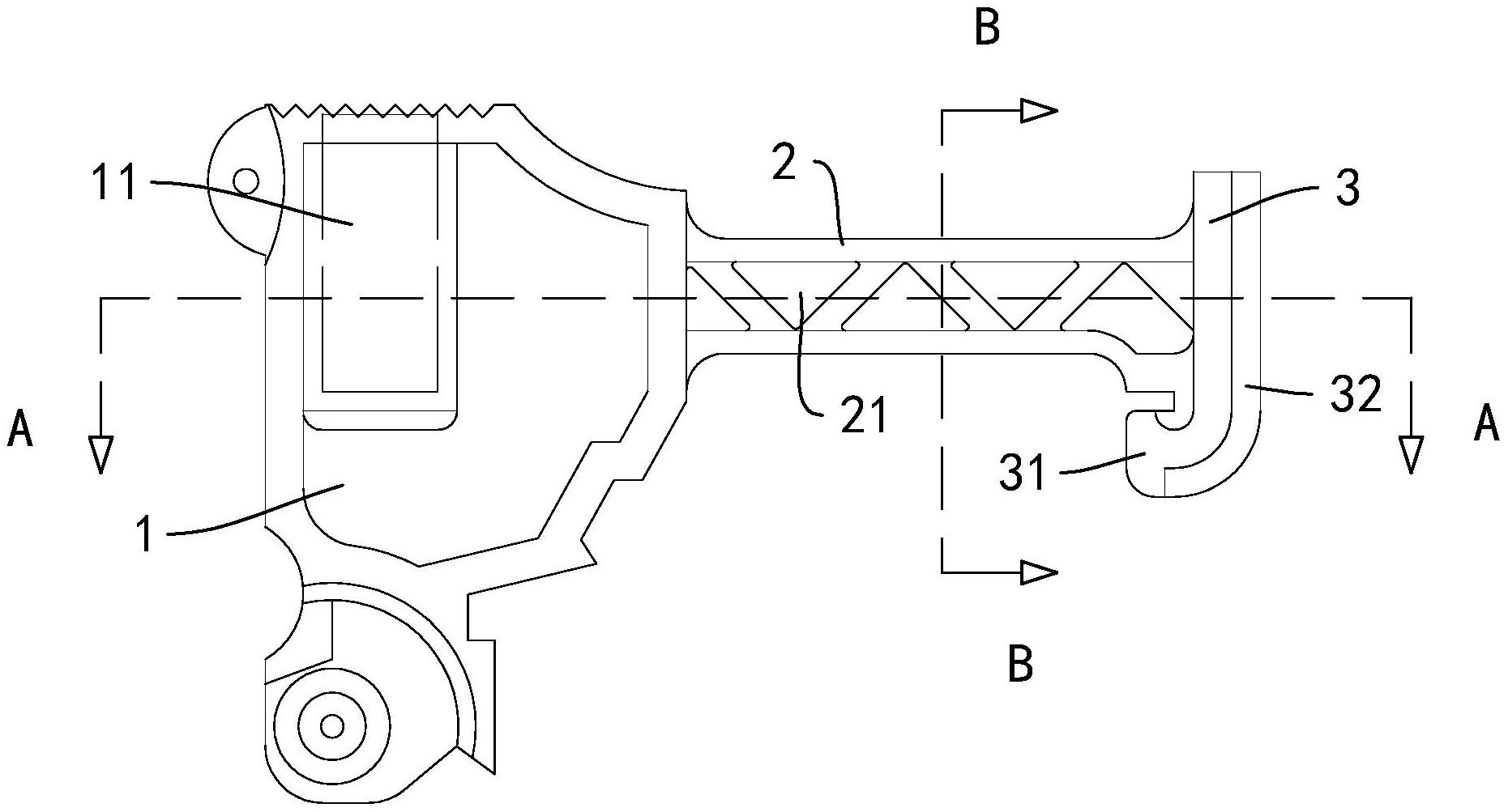
本申请涉及一种一体式击弦机转击器,属于钢琴配件领域,包括一体成型的转击器凸轮、制动柄以及倒退卡座,所述倒退卡座的底端设置有向制动柄所在的方向翻折的收卷部,所述收卷部与所述制动柄之间形成一个卡槽。本申请具有降低转击器的整体生产成本的效果。


