授权公布号:CN218059694U
一种食品包装原纸的浆料处理设备
有效
申请
2022-05-16
申请公布
1970-01-01
授权
2022-12-16
预估到期
2032-05-16
| 申请号 | CN202221169509.5 |
| 申请日 | 2022-05-16 |
| 授权公布号 | CN218059694U |
| 授权公告日 | 2022-12-16 |
| 分类号 | D21B1/34;D21D5/04 |
| 分类 | 造纸;纤维素的生产; |
| 申请人名称 | 仙鹤股份有限公司 |
| 申请人地址 | 浙江省衢州市衢江区天湖南路69号 |
专利法律状态
2022-12-16
授权
状态信息
授权
摘要
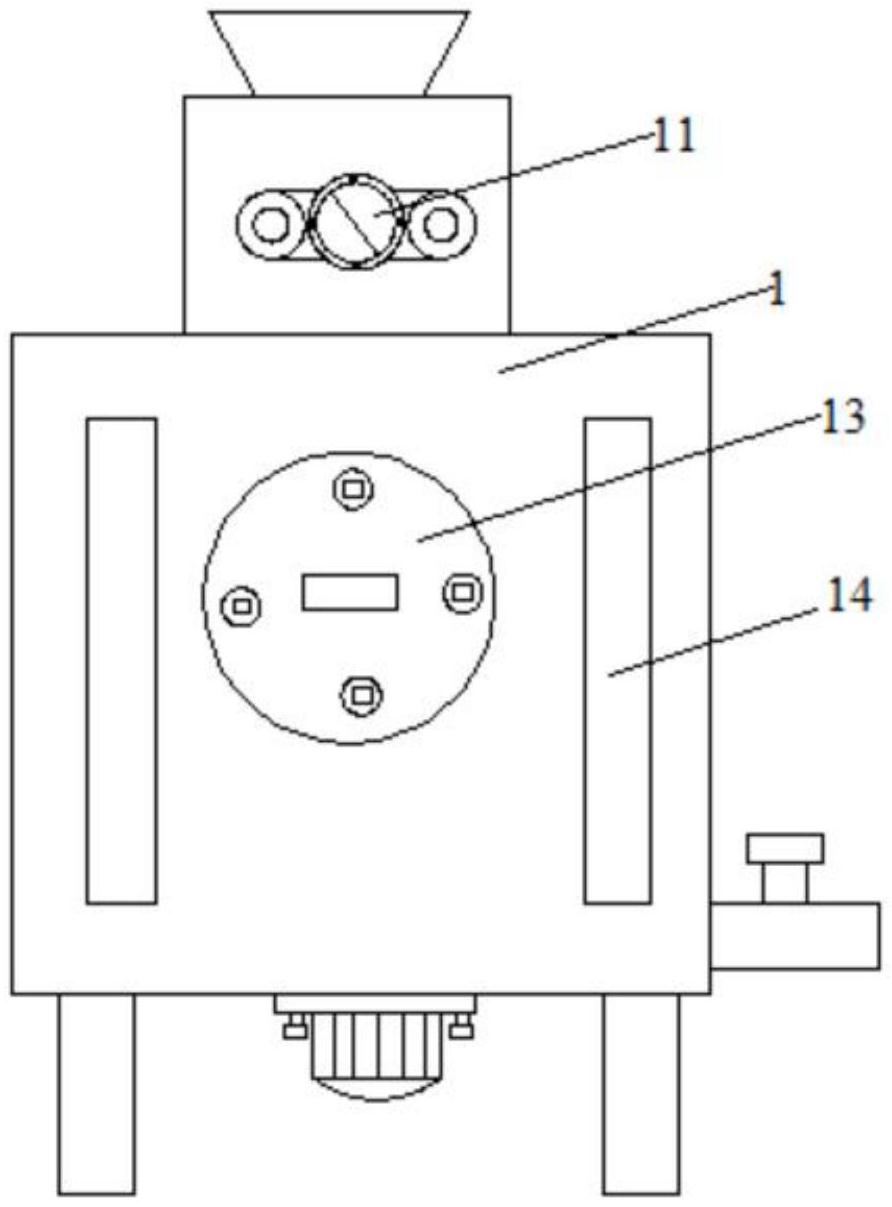
本实用新型提供一种食品包装原纸的浆料处理设备,包括主箱体、破碎轮、U型过滤篮、驱动马达、转动轴、转杆、伺服电机、检修密封门和观察条窗,主箱体的顶端设有进料口,主箱体的内部位于进料口的下方安装有两个破碎轮,主箱体的外侧固定有伺服电机,伺服电机的输出端通过皮带驱动连接破碎轮,主箱体的内部位于破碎轮下方设有顶端开口的U型过滤篮,U型过滤篮的内部设有U型腔,在U型腔的内壁固定有均匀分布的破碎块,U型腔的底端设有过滤网,主箱体的底端安装有驱动马达,驱动马达的输出端驱动连接转动轴,转动轴通入到U型腔的内部,转动轴位于U型腔内的部分和位于U型过滤篮下方的部分均设有转杆。本实用新型搅拌效果好,纸浆质量高。


