授权公布号:CN208514816U
生产橡塑保温材料的用于检测橡胶硫化速度的检测装置
有效
申请
2018-06-13
申请公布
1970-01-01
授权
2019-02-19
预估到期
2028-06-13
| 申请号 | CN201820912382.9 |
| 申请日 | 2018-06-13 |
| 授权公布号 | CN208514816U |
| 授权公告日 | 2019-02-19 |
| 分类号 | B29C35/04;B29C35/00 |
| 分类 | 塑料的加工;一般处于塑性状态物质的加工; |
| 申请人名称 | 亚罗斯建材(江苏)有限公司 |
| 申请人地址 | 江苏省泰州市泰兴市经济开发区文化路8号 |
专利法律状态
2019-02-19
授权
状态信息
授权
摘要
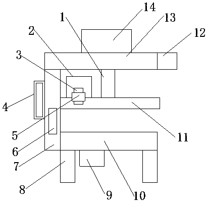
本实用新型涉及生产橡塑保温材料的用于检测橡胶硫化速度的检测装置,包括升降杆、加热器、连接管、控制装置、支撑板、导温压板、照明灯板、板体、电动缸、通孔以及配电箱,所述支撑板下端固定有支撑腿,所述支撑板左端固定有固定板,所述固定板上端固定有板体,所述板体上端固定有电动缸,所述电动缸下端固定有升降杆,所述升降杆下端穿过板体,并延伸至板体下方,所述升降杆下端固定有导温压板,所述导温压板上端固定有加热器,所述加热器通过连接管与导温压板相连接,所述固定板前端固定有控制面板,所述支撑板下端固定有控制装置,所述支撑板内部固定有配电箱,本实用新型使用方便,操作简单,系统性高,实用性强。


