授权公布号:CN210134612U
一种薄型石材一体板装配式安装装置
有效
申请
2019-04-26
申请公布
1970-01-01
授权
2020-03-10
预估到期
2029-04-26
| 申请号 | CN201920583399.9 |
| 申请日 | 2019-04-26 |
| 授权公布号 | CN210134612U |
| 授权公告日 | 2020-03-10 |
| 分类号 | E04F13/23;E04F13/25 |
| 分类 | 建筑物; |
| 申请人名称 | 四川威尔达节能科技有限公司 |
| 申请人地址 | 四川省德阳市广汉市新平镇联合村5社 |
专利法律状态
2020-03-10
授权
状态信息
授权
摘要
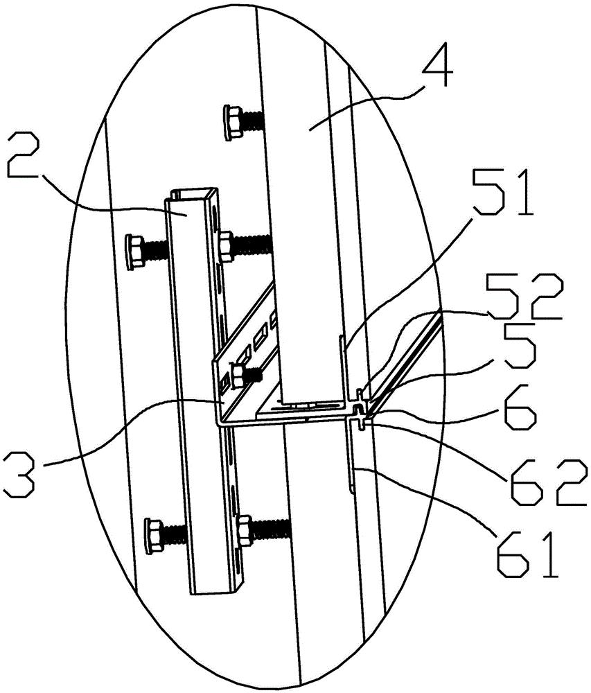
本实用新型涉及薄型石材领域,具体涉及薄型石材一体板装配式安装装置,其包括:固定座,固定座用于安装在竖向设置的墙体表面,且固定座上设置有调节装置,使固定座和墙体表面的距离可调,固定座按安装高度分为至少两组;横向支撑结构,不同高度的固定座上均至少安装有一个横向支撑结构;横向支撑结构包括:支撑架,支撑架用于连接固定座;可相对支撑架横向支出且支出长度可调的扣件,扣件包括竖向向上支出条形板件,用于嵌入薄型石材底部;与扣件匹配的卡件,卡件也用于与薄型石材的顶部固定连接;本实用新型的发明目的在于提供一种提高薄型石材一体板安装效率、减少的安装成本、克服墙体表面不平的缺陷的薄型石材一体板装配式安装装置。


