授权公布号:CN209509389U
一种发泡陶瓷装配式安装支架
有效
申请
2018-12-07
申请公布
1970-01-01
授权
2019-10-18
预估到期
2028-12-07
| 申请号 | CN201822053668.9 |
| 申请日 | 2018-12-07 |
| 授权公布号 | CN209509389U |
| 授权公告日 | 2019-10-18 |
| 分类号 | E04F13/22 |
| 分类 | 建筑物; |
| 申请人名称 | 四川威尔达节能科技有限公司 |
| 申请人地址 | 四川省德阳市广汉市新平镇联合村5社 |
专利法律状态
2019-10-18
授权
状态信息
授权
摘要
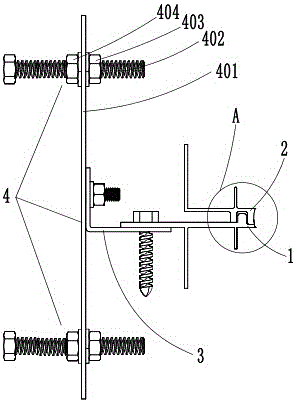
本实用新型涉及保温石材安装领域,具体涉及一种发泡陶瓷装配式安装支架,包括第一支架、第二支架、连接支架和安装座,所述第一支架和第二支架分别用于安装到保温板的上下两端,所述第一支架为T形结构,所述T形结构上连接保温板一侧设有第一嵌入端,另一侧设有插合端,所述第二支架为L形结构,在所述L形结构同侧上向内设有第二嵌入端,向外设有与所述插合端配合的U型凹槽,使得安装后相邻的保温板之间通过所述U形凹槽和插合端插合在一起,所述第一支架通过所述连接支架安装到所述安装座上,所述安装座用于与墙体固定。本支架通过与墙体固定,和相邻的保温板之间相互固定来固定整个保温墙,具有结构简单、安装方便、稳定性高等优势。


