授权公布号:CN214785382U
一种屋面防水构造
有效
申请
2021-06-09
申请公布
1970-01-01
授权
2021-11-19
预估到期
2031-06-09
| 申请号 | CN202121284575.2 |
| 申请日 | 2021-06-09 |
| 授权公布号 | CN214785382U |
| 授权公告日 | 2021-11-19 |
| 分类号 | E04D11/02;E04D13/16;E04D3/362 |
| 分类 | 建筑物; |
| 申请人名称 | 天津达璞瑞科技有限公司 |
| 申请人地址 | 天津市东丽区先锋路与利津路交口处的汇城广场24层2403-2404室 |
专利法律状态
2021-11-19
授权
状态信息
授权
摘要
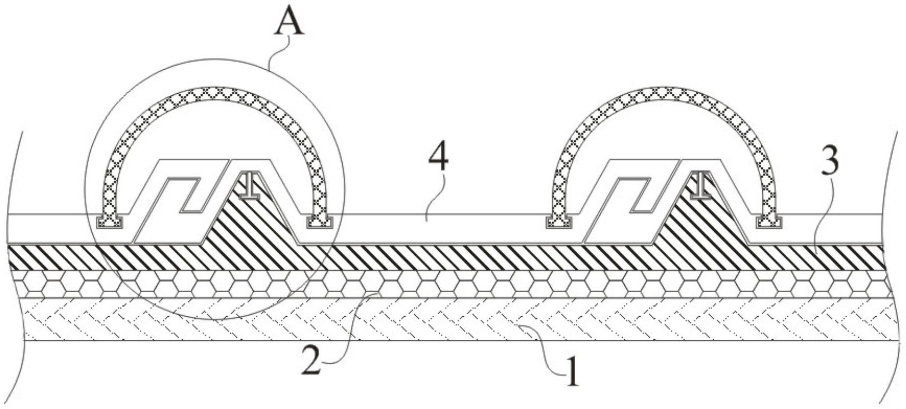
本实用新型涉及建筑防水技术领域,尤其涉及一种屋面防水构造,包括屋面基础层、设于所述屋面基础层上方且与所述屋面基础层固定连接的定位墩、设于所述定位墩之间且首尾相互拼接的防水板以及设于所述防水板拼接缝上方的弧形盖板,所述防水板的一端设有L型卡槽,其另一端设有与所述L型卡槽相适应的L型卡件,所述防水板靠近所述L型卡件的一侧设有与所述定位墩相适应的容纳腔,所述容纳腔和定位墩之间设有用于将所述防水板固定在所述定位墩上的锁定装置。本实用新型不采用固定钉即可实现防水板的拼接与安装,避免裸露的固定钉被锈蚀而影响屋面防水的稳定性和美观性。


