授权公布号:CN217314337U
滚珠筛选装置
有效
申请
2022-02-09
申请公布
1970-01-01
授权
2022-08-30
预估到期
2032-02-09
| 申请号 | CN202220265982.7 |
| 申请日 | 2022-02-09 |
| 授权公布号 | CN217314337U |
| 授权公告日 | 2022-08-30 |
| 分类号 | B07B1/12;B07B1/42;B07B1/46 |
| 分类 | 将固体从固体中分离;分选; |
| 申请人名称 | 中山市大田汽车护理用品有限公司 |
| 申请人地址 | 广东省中山市三角镇昌隆北街9号 |
专利法律状态
2022-08-30
授权
状态信息
授权
摘要
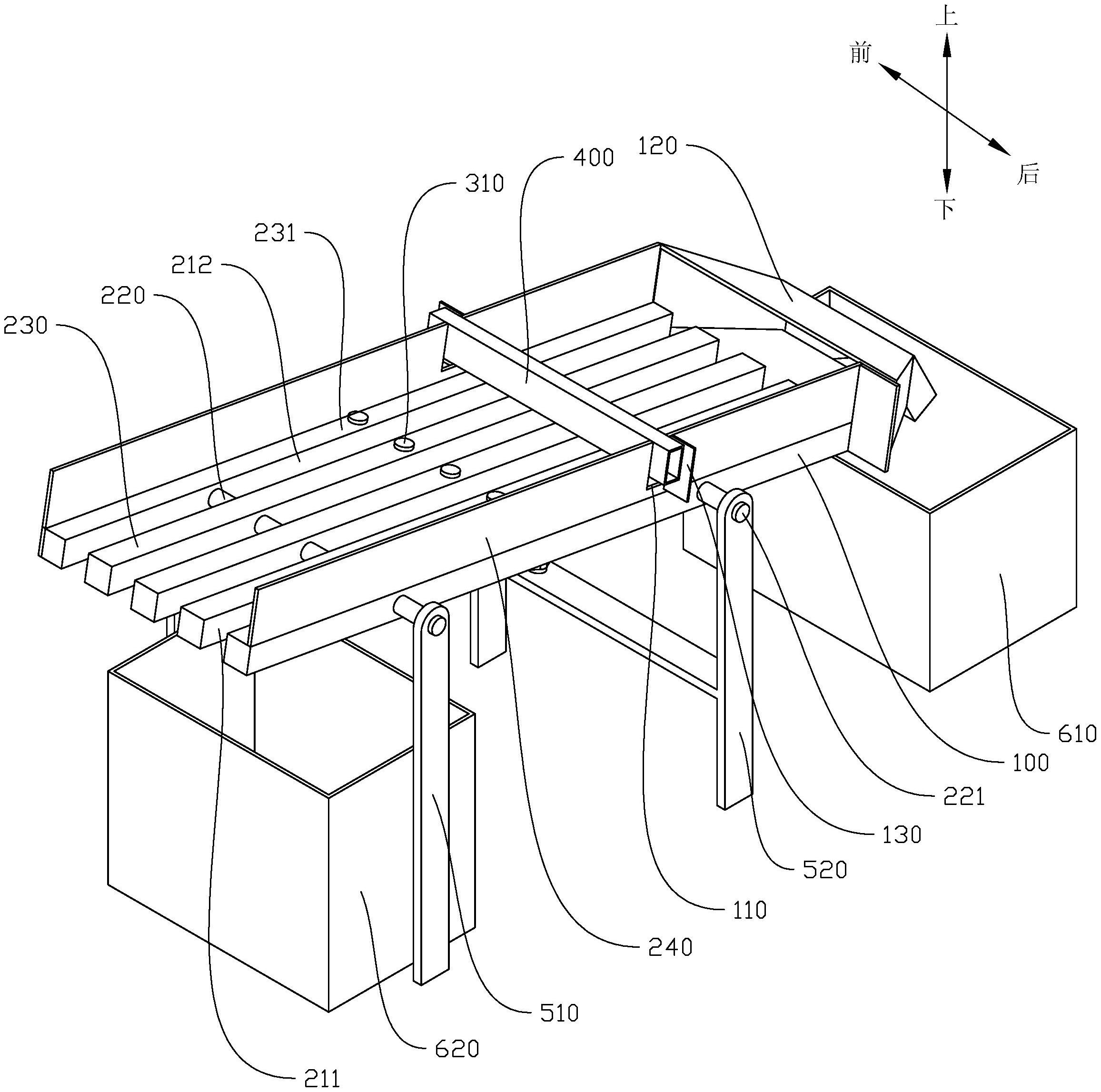
本实用新型公开了一种滚珠筛选装置,其中滚珠筛选装置包括设置有筛选机构的基架,筛选机构包括第一导轨、固定柱形件和多根活动柱形件,固定柱形件与第一导轨的一端固定相连,多根活动柱形件活动套设于第一导轨,固定柱形件及多根活动柱形件相互平行设置且位于同一平面,固定柱形件与相邻的一根活动柱形件之间形成第一筛孔,相邻两根活动柱形件之间形成第二筛孔,第一筛孔的宽度与第二筛孔的宽度相同;传动组件与所有活动柱形件活动连接,其中,传动组件能够驱动所有的活动柱形件沿着第一导轨移动,并使得第一筛孔的宽度和第二筛孔的宽度同步增大或减小。根据滚珠粒径大小进行分类时,无需多次更换筛选模具,操作快速便捷。


