授权公布号:CN213000681U
喷嘴及包含其的喷壶
有效
申请
2020-05-08
申请公布
1970-01-01
授权
2021-04-20
预估到期
2030-05-08
| 申请号 | CN202020741633.9 |
| 申请日 | 2020-05-08 |
| 授权公布号 | CN213000681U |
| 授权公告日 | 2021-04-20 |
| 分类号 | B05B11/00;B05B7/00 |
| 分类 | 一般喷射或雾化;对表面涂覆液体或其他流体的一般方法〔2〕; |
| 申请人名称 | 中山市大田汽车护理用品有限公司 |
| 申请人地址 | 广东省中山市三角镇昌隆北街9号 |
专利法律状态
2021-04-20
授权
状态信息
授权
摘要
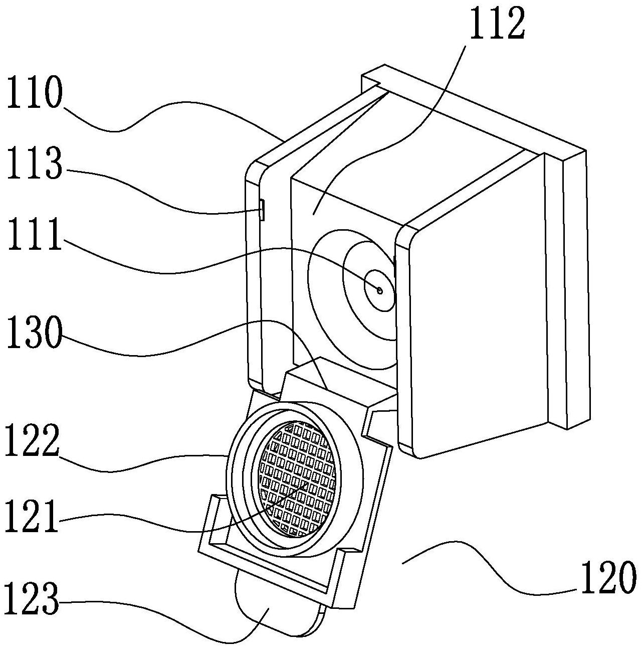
本实用新型公开了喷嘴及包含其的喷壶,喷嘴包括:喷嘴主体,设置有喷射口;泡沫产生件,可拆卸地安装于喷嘴主体的预定位置,泡沫产生件上设置有泡沫化结构,泡沫产生件处于预定位置时,泡沫化结构遮挡喷射口以使从喷射口射出的清洁剂通过泡沫化结构进行泡沫化。本实用新型还公开了包含上述喷嘴的喷壶。上述结构的喷嘴和喷壶,能选择产生不同附着力的清洁剂,使用灵活。


