授权公布号:CN216704764U
一种高粘度涂料用喷涂装置
有效
申请
2021-11-10
申请公布
1970-01-01
授权
2022-06-10
预估到期
2031-11-10
| 申请号 | CN202122741825.7 |
| 申请日 | 2021-11-10 |
| 授权公布号 | CN216704764U |
| 授权公告日 | 2022-06-10 |
| 分类号 | B05B13/02;B05B15/25;B05B15/50;B05B9/04;B05B12/02;B05B15/00;B05B15/68 |
| 分类 | 一般喷射或雾化;对表面涂覆液体或其他流体的一般方法〔2〕; |
| 申请人名称 | 上海金力泰化工股份有限公司 |
| 申请人地址 | 上海市奉贤区青村镇沿钱公路2888号 |
专利法律状态
2022-06-10
授权
状态信息
授权
摘要
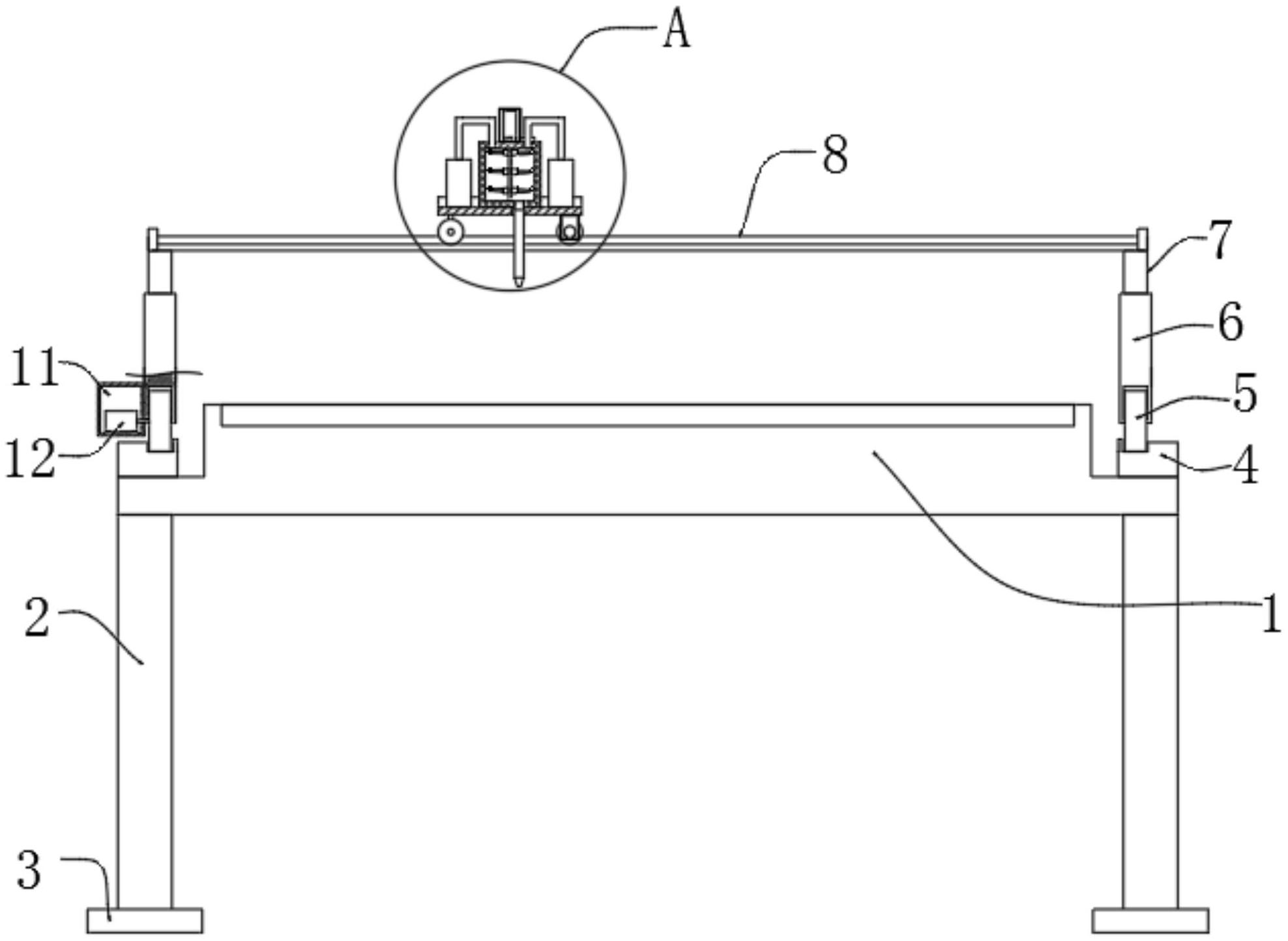
本实用新型公开了一种高粘度的涂料喷涂装置,涉及涂料喷涂技术领域,包括工作台,其特征在于:所述工作台的上方设置有移台,移台的上方的中心设置有喷涂罐,移台的顶端设置有多组加压罐,加压罐通过管道连接喷涂罐,喷涂罐的顶部设置有搅拌电机,搅拌电机在喷涂罐内设置有多组搅拌叶,喷涂罐的底端设置有喷管,喷管的顶端设置有出料阀,所述喷管的底端设置有喷头,所述喷管和喷头的由内至外分别设置有导热层、加热层和保温层。本实用新型设置较厚的喷涂罐,在喷涂罐内设置搅拌桨叶,防止涂料的结块,提高涂料的流动性,设置多层结构的喷涂管道和喷头,防止涂料在喷头或喷涂管道内结块堵塞,设置多组加压罐对喷涂罐内加压,保证涂料的喷出压力。


