授权公布号:CN109465102B
环保效果好的涂料生产用研磨设备
有效
申请
2018-10-22
申请公布
2019-03-15
授权
2021-03-05
预估到期
2038-10-22
| 申请号 | CN201811232676.8 |
| 申请日 | 2018-10-22 |
| 申请公布号 | CN109465102A |
| 申请公布日 | 2019-03-15 |
| 授权公布号 | CN109465102B |
| 授权公告日 | 2021-03-05 |
| 分类号 | B02C23/20;B02C23/00 |
| 分类 | 破碎、磨粉或粉碎;谷物碾磨的预处理; |
| 申请人名称 | 上海景江化工有限公司 |
| 申请人地址 | 上海市金山区金山卫镇秋实路688号1号楼4单元271室B座 |
专利法律状态
2021-03-05
授权
状态信息
授权
2021-02-23
专利申请权、专利权的转移
状态信息
专利申请权、专利权的转移
2019-04-09
实质审查的生效
状态信息
实质审查的生效
2019-03-15
公布
状态信息
公布
摘要
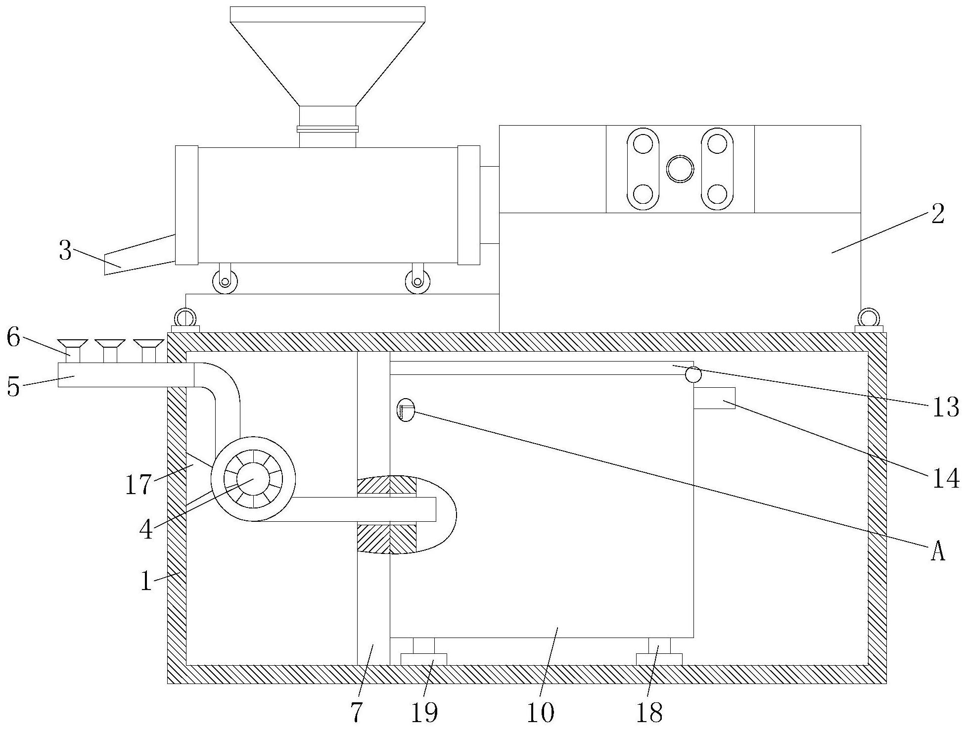
本发明公开了一种环保效果好的涂料生产用研磨设备,包括外壳,外壳的顶部固定连接有研磨机,研磨机的左侧连通有出料管,外壳内壁的左侧固定连接有鼓风机,鼓风机的吸气管连通有横管,横管的左端贯穿外壳并延伸至外壳的外侧,横管且位于外壳外侧的顶部连通有吸尘头,鼓风机出风管的表面固定连接有定位板,定位板的顶部和底部分别与外壳内壁的顶部和底部固定连接,定位板的表面开设有开槽,开槽内壁顶部和底部的两侧均固定连接有定位柱,定位板的右侧设置有储存箱,鼓风机的出风管依次贯穿定位板和储存箱并延伸至储存箱的内部,储存箱的表面开设有传动槽,传动槽的内壁设置有与定位柱配合使用的传动机构,储存箱右侧的顶部连通有出气管。


