授权公布号:CN216419233U
一种油漆调色的夹缸装置
有效
申请
2021-11-24
申请公布
1970-01-01
授权
2022-05-03
预估到期
2031-11-24
| 申请号 | CN202122898607.4 |
| 申请日 | 2021-11-24 |
| 授权公布号 | CN216419233U |
| 授权公告日 | 2022-05-03 |
| 分类号 | B01F35/42;B01F35/43;B01F35/11;B01F35/12 |
| 分类 | 一般的物理或化学的方法或装置; |
| 申请人名称 | 攀枝花荣鑫油漆有限责任公司 |
| 申请人地址 | 四川省攀枝花市钒钛高新技术产业开发区兴钛路40号 |
专利法律状态
2022-05-03
授权
状态信息
授权
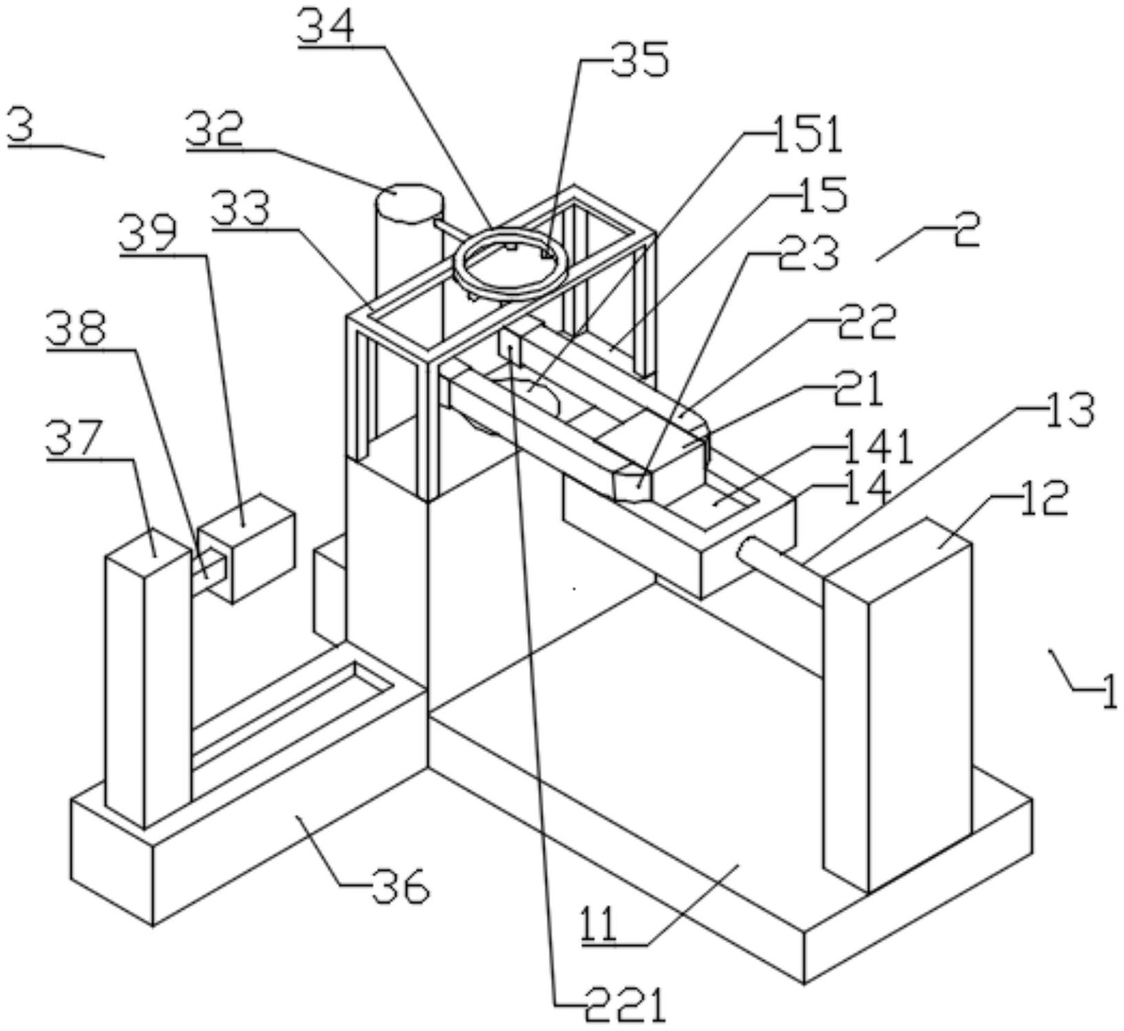
摘要
本实用新型涉及油漆调色技术领域,具体涉及一种油漆调色的夹缸装置;通过支撑组件支撑起装置,承载板可以放置夹持组件,伸缩杆可以调节夹持组件的高度和夹持位置,水箱内的水通过伸缩管道送至连接管,支撑架可以放置连接管,避免在清洗时水的重量使得连接管坍塌,转动喷水管,可以使得水流能够清洗到角落中的残余油漆,通过滑动支架和连接杆,能够调节毛刷的位置和高度,能够更方便的清洗装置,解决现有设备清洗不方便的问题。


